久久久久激情I久草网免费I天天天综合网Iav东方在线I国产精品二区在线观看Iwww久久99I91精品色I夜又临在线观看
固定電話:
0517-86881563
手機熱線:
153-5866-7860
首頁
關于我們
產品博覽
新聞動態
典型案例
行業新聞
聯系我們
當前位置:
創輝儀表
>
新聞動態
>
流量儀表系列
電磁流量計
渦街流量計
渦輪流量計
超聲波流量計
孔板流量計
轉子流量計
質量流量計
旋進旋渦流量計
巴類流量計
液體流量計
油流量計
酸流量計
氣體流量計
其它流量計
物位儀表系列
磁翻板液位計
超聲波液位計
雷達物位計
浮球液位開關
變送器儀表系列
壓力變送器
差壓變送器
液位變送器
溫度變送器
孔板流量計與電磁流量計對比
2020-04-28
孔板流量計 與 電磁流量計 對比 流量計量,在產品質量、生產效率、科學技術的發展方面都能發揮重要的作用,占據了重要的位置,尤其是當今能力資源豐富程度每況愈下、工業上自動化程度越來越高的背景下,在國民經濟中,流量計量占據了更加重要...
智能超聲波液位計所受干擾的分析及排除
2020-04-15
進口 智能超聲波液位計 以其技術先進,測量精度高,長期測量穩定性好等特點,在國內許多企業的污水處理廠得到應用。為實現污水的達標排放,對原污水處理廠進行了大規模的技術改造,在對污水的測量、監控上采用了許多國外先進儀表設備,其中對...
射頻導納液位計在酸堿計量罐上的應用
2020-04-14
大慶石化公司煉油廠在水處理過程中使用酸堿作為藥劑,藥劑由儲罐進入計量罐,再去下游工段使用。計量罐一方面不能液位過高,另一方面還要進行計量,給下游工序提供準確的藥量,計量罐的液位測量就更為重要。過去使用的是差壓測量方法來測量...
磁翻板液位計如何實現液位高位報警?
2020-04-14
密閉的化學品儲罐,磁翻板液位計如何實現液位高位報警? 磁翻板液位計 可直接用來觀察各種容器內介質的液位高度。磁翻板液位計適用于石油、化等工業領域的液位指示,磁翻板液位計結構簡單,觀察直觀、清晰,不堵塞、不滲漏,安裝方便,維修簡單...
在天然氣流量計量中幾種實用儀表的特性分析
2020-04-09
在天然氣流量計量中實用的儀表的特性分析 1. 渦街流量計 現階段很多流量計的工作原理都是根據流體的震蕩原理進行硏制的,其適用于多種流體,其中就包括天然氣。在這個技術背景之下,渦街流量計就具有著其他流量計所沒有的技術優勢,例如:1...
氣體渦輪流量計具有哪些測量優勢?
2020-04-08
氣體渦輪流量計的優勢 1、 氣體渦輪流量計 精度高,壓力損失小,始動流量低,對溫度壓力和流量進行自動跟蹤補償,電池供電,可輸出多種信號,選用進口軸承,壽命長,安裝維修方便。智能型速度式流量儀表是集流量、溫度、壓力檢測功能于一體,并能...
金屬轉子流量計有哪些組合結構
2020-04-08
金屬管浮子流量計 采用可變面積式測量原理,它利用流動的能量來檢測,流動不需要外部動力。浮子流量計的測量本體由一根自下向上擴大的垂直錐管和一只可以沿著錐管的軸向自由移動的浮子組成。當錐管內的浮子上下移動時,轉換器中的經過精...
幾種常見的渦街流量計類型
2020-04-07
幾種常見 渦街流量計 類型 按漩渦發生體及其所采用的檢測技術,有以下常用的幾種渦街流量計 ①圓柱 渦街流量計 圓柱渦街流量計柱體斷面輪廓是圓。圓柱具有較高的Sr數(約0.20),但圓柱需要采取邊界層控制措施才能在圓管內形成穩定渦街。通過...
驗證電磁流量計測量數據是否準確的方法
2020-04-01
電磁流量計 是水廠水處理過程中很重要的計量儀表,它的計量是否準確、可靠,關系到水廠的各項指標以及無法對總進廠水量和出廠水量進行準確計算。所以,做好電磁流量計的精度驗證工作顯得很重要由于電磁流量計須是在線連續使用,幾乎不可能...
渦街流量計用于煤氣流量測量的幾點經驗
2020-03-24
渦街流量計 可以實現對氣體、蒸汽、液體流量的準確測量。煤氣屬于有毒、有害氣體成分復雜,給準確計量以及計量系統的繼修工作增加了許多難度。因此,須保證工業現場情況ZUI大限度地與設計情況相符,避免造成計量失準,從而實現對煤氣的準確...
V型內錐式流量計的工作原理及特點
2020-03-24
V型內錐式流量計 的工作原理及特點 從分類學上講,V型內錐式流量計和孔板流量計都屬于差壓式流量計,遵守能量守恒定律。孔板屬于中心突然收縮式流量計,V型內錐則屬于邊緣逐漸收縮式。其結構示意圖如圖1、圖2所示。 從圖1中可以看出,當流體...
抗震型旋進旋渦流量計的構造及用途
2020-03-18
背景技術 旋進旋渦流量計 具有功能強、流量范圍寬、操作維修簡單,安裝使用方便等優點,主要技術指標達到國外同類產品先進水平。廣泛應用于石油、化工、電力、治金煤炭等行業各種氣體計量,傳統的旋進旋渦流量計是直接接在管道上的,對于殼...
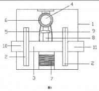
一種用于電磁流量計電極的保護套
2020-03-08
電磁流量計 是一種根據法拉第電磁感應定律來測量測量管內導電介質體積流量的感應式儀表。電磁流量計中設置有電極,電極具有電極頭。圖1為現有的電磁流量計的部分結構的截面圖。如圖1所示,電磁流量計中布置有內襯102、測量管的管壁103、用...
用隔膜密封式差壓變送器測量密閉貯罐液位
2020-03-05
某公司九陽罐區使用了9臺隔膜密封式差壓變送器對甲胺/DMF系統的產品貯罐液位進行測量,但由于遠傳儀表存在問題,其液位指示一直低于現場就地液位計指示,這給操作室工藝人員判斷現場貯罐的實際液位帶來了很大的麻煩,往往需要操作人員親自去...
密閉的化學品儲罐如何實現液位高位報警
2020-03-05
密閉的化學品儲罐, 磁翻板液位計 如何實現液位高位報警? 磁翻板液位計可直接用來觀察各種容器內介質的液位高度。磁翻板液位計適用于石油、化工等工業領域的液位指示,磁翻板液位計結構簡單,觀察直觀、清晰,不堵塞、不滲漏,安裝方便,維修...
首頁
上一頁
10
11
12
13
14
15
16
下一頁
末頁
1
2
3
4
5
6
7
8
9
10
11
12
13
14
15
16
17
18
19
20
21
22
23
24
25
26
27
28
29
30
31
32
33
34
35
36
37
38
39
40
41
42
43
44
45
46
47
48
49
50
51
52
創輝自動化儀表
固定電話:0517-86881563
工程師熱線:15358667860
公司郵箱:2509499123@qq.com
公司地址:江蘇省淮安市金湖縣工一路16號
流量儀表系列
電磁流量計
渦街流量計
渦輪流量計
超聲波流量計
孔板流量計
物位儀表系列
磁翻板液位計
超聲波液位計
雷達物位計
浮球液位開關
變送器儀表系列
壓力變送器
差壓變送器
液位變送器
溫度變送器
欄目導航
關于我們
產品博覽
新聞動態
典型案例
行業新聞
聯系我們
版權所有? 江蘇創輝自動化儀表有限公司 2019 All Rights Reserved.
客戶服務熱線
15358667860
聯系我們