久久久久激情I久草网免费I天天天综合网Iav东方在线I国产精品二区在线观看Iwww久久99I91精品色I夜又临在线观看
固定電話:
0517-86881563
手機熱線:
153-5866-7860
首頁
關于我們
產品博覽
新聞動態
典型案例
行業新聞
聯系我們
當前位置:
創輝儀表
>
新聞動態
>
流量儀表系列
電磁流量計
渦街流量計
渦輪流量計
超聲波流量計
孔板流量計
轉子流量計
質量流量計
旋進旋渦流量計
巴類流量計
液體流量計
油流量計
酸流量計
氣體流量計
其它流量計
物位儀表系列
磁翻板液位計
超聲波液位計
雷達物位計
浮球液位開關
變送器儀表系列
壓力變送器
差壓變送器
液位變送器
溫度變送器
V型內錐式流量計的工作原理及特點
2020-03-04
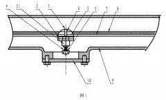
從分類學上講, V型內錐式流量計 和 孔板流量計 都屬于差壓式流量計,遵守能量守恒定律。孔板屬于中心突然收縮式流量計,V型內錐則屬于邊緣逐漸收縮式。其結構示意圖如圖1、圖2所示。 從圖1中可以看出,當流體流過孔板時會形成流體的局部收縮...
油罐物位應用雷達液位計的測量
2020-03-03
1.概述 目前市場常見的 雷達物位計 采用的調制技術主要有微波脈沖行程和FMCW(調頻連續波)兩種。 2.長慶油田應用情況分析 雷達液位計 在長慶油田主要用于聯合站、輸油站等中間站的5000m3以上儲罐,由于中間站內的油罐屬于緩沖罐,罐位的測量不做...
一種鉆井泥漿儲罐液位報警裝置
2020-03-02
油田鉆井作業的過程中對于井漏、井涌等地層的情況反應還處于一個比較原始的階段一主要靠人工來坐崗記錄,其準確性差,實時性不足,在井漏或井涌時,不能及時做出警告而采取措施,嚴重威脅鉆井的順利進行。 發明內容 本實用新型的目的就是針...
靶式流量計的應用特點及工作原理
2020-02-26
一、 靶式流量計 種類及適用領域 數顯靶式流量計是在傳統靶式流量計測量原理的基礎上,充分利用其特點,結合新型傳感器技術和現代數字技術上研制、開發而成的全新型數顯靶式流量計,它既具有傳統靶式、孔板、渦街等流量計無可動部件的特點...
智能型外置式超聲波液位計產品特點工作原理
2020-02-23
1. 超聲波液位計 產品特點 智能型外置式超聲波液位計、采用了先進的信號處理技術及高速信號處理芯片,突破了容器壁厚的影響,實現了密閉容器內液位高度的真正非接觸測量。超聲波探頭安裝于被測容器外壁的正下方(底部),無需對被測容器開孔...
非滿管電磁流量計是如何測量流量的?
2020-02-23
電磁流量計 屬于速度流量計的一種,電磁流量計所測得的體積流量實際上不受流體密度、黏度、溫度和壓力變化的明顯影響,還可應用于腐蝕性流體的測量,因而廣泛應用于工業生產。目前市面上大多數的電磁流量計僅能用于滿管的流量測量,對于流...
智能電磁流量計的軟件實現方法學
2020-02-07
智能電磁流量計 的軟件實現方法學 電磁流量計軟件系統是個嵌入式系統。嵌入式操作系統種類繁多,目前市場上共有幾十種操作系統,有深嵌入系統,也有淺嵌入系統:有多任務系統,也有單任務系統;有實時系統,也有分時系統。雖然不同的嵌入式系統...
液位報警器在密閉計量罐上的應用
2020-01-17
1.液位報警器的結構原理 計量罐在工作中易發生液位高或超低、冒罐、燒損打油泵等事故,不僅造成設備損壞,而且使油品大量跑損,污染環境,造成及大的經濟損失和社會影響。為避免計量罐液位高或超低、冒罐等事故發生,在 計量罐上安裝高、超低...
一種可方便拆卸電極的電磁流量計
2020-01-17
背景技術 電磁流量計 產品可廣泛應用于化工、鋼鐵、煤炭、礦治、石油開采、石化、造紙、環保、制糖、制藥、食品、水利灌溉、給排水和港口疏浚等領域,電磁流量計尤其在各種槳類流體的測量中有其獨特的優勢,可*地測量各種酸、堿、鹽溶液...
電磁流量計用于工業硫酸計量
2020-01-14
工業硫酸計量是各硫酸廠比較頭痛的事情,現大多數硫酸廠均采用浮標計量。這種計量方法誤差比較大。為解決硫酸計量難題,硫酸廠使用了LE系列 電磁流量計 并在廠區成品崗位安全運行三年多,計量精度達到設計要求。 1. 電磁流量計 筒介 以往電...
一種16個電極的電磁流量計
2020-01-10
電磁流量計 是60年代隨著電子技術的發展而迅速發展起來的新型流量測量儀表。它根據法拉第電磁感應定律制成,用來測量導電流體的體積流量。由于其獨特的優點,目前已廣泛地應用于工業上各種導電液體的測量。例如,測量各種酸、堿、鹽等腐蝕...
淺談壓力變送器的選型與安裝
2019-12-26
淺談壓力變送器的選型與安裝 壓力儀器儀表在國民經濟的各個領域內都有著非常廣泛的應用。在現代工業生產過程中,壓力是一個非常重要的參數。壓力、溫度、流量一起并稱為工業自動化控制三大要素。因此,為保證壓力變送器的合理、可靠...
一種電磁流量計的脫蠟裝置
2019-12-23
電磁流量計 背景技術 現有的基于法拉第電磁感應定律設計的電磁流量計雖然能測量導電流體的流量,但在測量油田井口采出的含蠟原油流量時,由于當溫度低于45℃石蠟就會粘覆在電磁流量計的計量導管內壁上,使計量導管腔頸截面面積變小,造成含...
磁翻板液位計普遍應用故章的分辨與解決!
2019-12-23
磁翻板液位計優點分析及在油田液位測量中的應用 最近幾年來,伴隨著油田開發生產與管理水平的不斷提高,對于單井計量數據的準確性比以前有了更高的要求。由于以前的計量方法以及使用玻璃管液位計來計量油均存在不同程度弊端;因玻璃...
電磁流量計傳感器安裝環境的選擇
2019-12-23
隨著市場經濟(Economy)的調整發展,流量(單位:立方米每秒)儀表行業迅速壯大,生產(Produce)電磁流量計的廠家也越來越多,隨之而來的競爭(competition)也越來越烈,電磁流量計是流量計量儀表中最穩定(解釋:穩固安定;沒有變動),精度(*度)*的一...
首頁
上一頁
11
12
13
14
15
16
17
下一頁
末頁
1
2
3
4
5
6
7
8
9
10
11
12
13
14
15
16
17
18
19
20
21
22
23
24
25
26
27
28
29
30
31
32
33
34
35
36
37
38
39
40
41
42
43
44
45
46
47
48
49
50
51
52
創輝自動化儀表
固定電話:0517-86881563
工程師熱線:15358667860
公司郵箱:2509499123@qq.com
公司地址:江蘇省淮安市金湖縣工一路16號
流量儀表系列
電磁流量計
渦街流量計
渦輪流量計
超聲波流量計
孔板流量計
物位儀表系列
磁翻板液位計
超聲波液位計
雷達物位計
浮球液位開關
變送器儀表系列
壓力變送器
差壓變送器
液位變送器
溫度變送器
欄目導航
關于我們
產品博覽
新聞動態
典型案例
行業新聞
聯系我們
版權所有? 江蘇創輝自動化儀表有限公司 2019 All Rights Reserved.
客戶服務熱線
15358667860
聯系我們