背景技術
旋進旋渦流量計具有功能強、流量范圍寬、操作維修簡單,安裝使用方便等優點,主要技術指標達到國外同類產品**水平。**應用于石油、化工、電力、治金煤炭等行業各種氣體計量,傳統的旋進旋渦流量計是直接接在管道上的,對于殼體和流量顯示器沒有保護措施,不能有效的防止在地震的時候對殼體和流量顯示器進行保護,而且安裝也較為復雜。為此我們設計了一款新型的抗震型旋進旋渦流量計,解決了傳統的抗震型旋進旋渦流量計使用不便的問題。
實用新型內容
本實用新型的目的在于提供抗震型旋進旋渦流量計,以解決現有的技術缺陷和不能達到的技術要求。
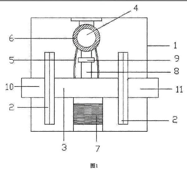
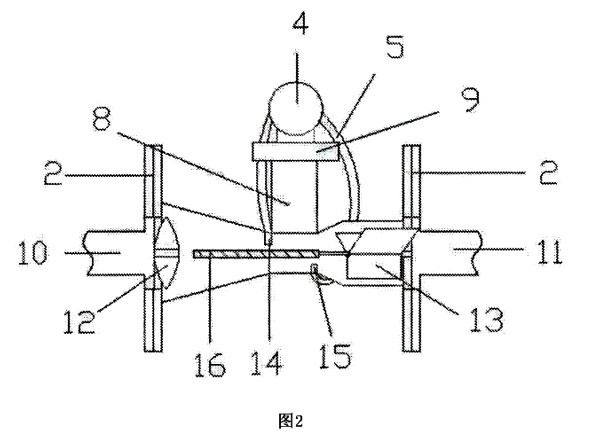
為實現上述目的,本實用新型提供如下技術方案:抗震型旋進旋渦流量計,包括箱體、連接頭、殼體和流量顯示器,所述連接頭、殼體和流量顯示器設在箱體內部,殼體底部設有彈簧,殼體右側設有出氣ロ,左側設有進氣ロ,進氣口和出氣口通過連接頭連在一起,所述殼體內部包括漩渦發生體、除旋整流器、溫度傳感器、壓力傳感器和渦核,漩渴發生體設在殼體左側,除旋整流器設在殼體右側,漩渦發生體和除旋整流器各通過固定座與殼體連接,除旋整流器左側設有渦核,溫度傳感器設在殼體內部頂部,壓力傳感器設在殼體內部底部,殼體上部設有連接桿,連接桿與殼體固定連接,連接桿上部設有旋進螺栓,旋進螺栓上部設有流量顯示器,流量顯示器通過固定座固定在旋進螺栓上,流量顯示器外側設有管道和防護罩。
所述彈簧上下各設有固定板,下固定板與箱體固定連接,上固定板固定連接在殼體上。
所述旋進螺栓固定在連接桿,流量顯示器下部設有固定桿,固定桿下部設有螺紋,流量顯示器通過旋進螺栓與連接桿固定連接。
所述渦核和除旋整流器通過軸承連接
所述管道一端連接流量顯示器,另一端連接殼體。
與現有技術相比,本實用新型的有益效果如下:
1.與傳統的抗震型旋進旋渦流量計相比,改良后的抗震型旋進旋渦流量計,通過在殼體底部設有的彈簧,使得在發生地震的時候,可以保護殼體內部的精密儀器,不至于被震動破壞。
2.與傳統的抗震型旋進旋渦流量計相比,改良后的抗震型旋進旋渦流量計在流量顯示器外側包裏有保護罩,保護罩內部設有海綿及泡沫,用來保護流量顯示器,流量顯示器內部有很多的精密電子元件,以免在發生地震的時候發生損壞。
附圖說明
圖1為本實用新型抗震型旋進旋渦流量計結構示意圖

圖2為本實用新型抗震型旋進旋渦流量計內部結構示意圖

圖中:1-箱體,2-連接頭,3-売體,4-流量顯示器,5-管道,6-防護罩,7一彈簧,8-連接桿,9-旋進螺栓,10進氣口,11-出氣口,12-漩渦發生體,13-除旋整流器,14-溫度傳感器,15-壓力傳感器,16-渦核。
具體實施方式
下面將結合本實用新型實施例中的附圖,對本實用新型實施例中的技術方案進行清楚、完整地描述?;诒緦嵱眯滦椭械膶嵤├?本領域普通技術人員在沒有做出創造性勞動前提下所獲得的所有其他實施例,都屬于本實用新型保護的范圍請參閱圖1-2,本實用新型提供一種技術方案:抗震型旋進旋渦流量計,包括箱體1、連接頭2、殼體3和流量顯示器4,所述連接頭2、殼體3和流量顯示器4設在箱體1內部,殼體3底部設有彈簧7,売體3右側設有出氣口11,左側設有進氣口10,進氣口10和出氣口11通過連接頭2連在一起,所述殼體3內部包括漩渦發生體12、除旋整流器13、溫度傳感器14、壓力傳感器15和渦核16,漩渴發生體12設在売體3左側,除旋整流器13設在売體3右側,漩渦發生體12和除旋整流器13各通過固定座與殼體3連接,除旋整流器13左側設有渴核16,溫度傳感器14設在殼體3內部頂部,壓カ傳感器15設在売體3內部底部,売體3上部設有連接桿8,連接桿8與殼體3固定連接,連接桿8上部設有旋進螺栓9,旋進螺栓9上部設有流量顯示器4,流量顯示器4通過固定座固定在旋進螺栓9上,流量顯示器4外側設有管道5和防護罩6彈簧7上下各設有固定板,下固定板與箱體1固定連接,上固定板固定連接在殼體3上,在震動的時候,彈簧7能有效的將震動波過濾掉,較小對殼體3的損傷。旋進螺栓9固定在連接桿8,流量顯示器4下部設有固定桿,固定桿下部設有螺紋,流量顯示器4通過旋進螺栓9與連接桿8固定連接,可以方便的對流量顯示器4進行更換和對売體3內零部件進行檢査和維修,大大的方便了安裝人員和維修人員。除旋整流器13和渦核16通過軸承連接,除旋整流器13轉動的時候帶動渦核16旋轉,使得氣體充分混合以便于檢測管道5一端連接流量顯示器4,另一端連接売體3,溫度傳感器14和壓力傳感器15分別將收集到的信息通過管道5內的導線傳遞到流量顯示器4內儲存,以便于**人員檢查。
本實用新型抗震型旋進旋渦流量計將進氣口10和出氣ロ11分別通過連接頭2與殼売體3連接,將流量顯示器4通過旋進螺栓9連接在連接桿8上,再將彈簧7安裝在殼體3底部,將連接桿8包裏在流量顯示器4外側,以達到保護旋進旋渦流量計的目的,箱體1作為旋進旋渦流量計第 一道保護措施,連接桿8和彈簧7作為旋進旋渦流量計第 二道保護措施,兩者相互配合使用共同保護旋進旋渦流量計。
上一條:
一種用于電磁流量計電極的保護套
下一條:
V型內錐式流量計的工作原理及特點