久久久久激情I久草网免费I天天天综合网Iav东方在线I国产精品二区在线观看Iwww久久99I91精品色I夜又临在线观看

固定電話:

0517-86881563

手機熱線:

153-1230-7860

當前位置:首頁 >> 新聞動態
金屬轉子流量計有哪些組合結構
金屬管浮子流量計采用可變面積式測量原理,它利用流動的能量來檢測,流動不需要外部動力。浮子流量計的測量本體由一根自下向上擴大的垂直錐管和一只可以沿著錐管的軸向自由移動的浮子組成。當錐管內的浮子上下移動時,轉換器中的經過精密充磁的磁耦合系統帶動指針轉動,然后通過刻度盤和指針讀出相應的流量值;因此浮子于錐管之間的環隙面積隨浮子的移動而變化,通過測量浮子在錐管中的高度就可以推算出管道內通過的流量。現有的金屬管浮子流量計的組合結構包括金屬管浮子流量計和位移傳感裝置,現有金屬轉子流量計的組合結構中的位移傳感器通常采用差動變壓器式傳感器和電容式角位移傳感器:但是使用這兩種位移傳感器檢測浮子位移都無法實現流量計的轉換器全電子化、小型化以及在此基礎上的智能化。其中差動變壓器式傳感器由于其原理和結構的限制,差動變壓器構成的位移檢測系統很難達到防爆要求,這對應用于現場的金屬管轉子流量計來說無疑限制了其在易燃易爆等危險場所的使用;雖然電容式角位移傳感器構成的檢測系統相對而言結構簡單、調整相對方便,且也可以做成本安型或隔爆型防爆結構,使其流量計的使用范圍有所擴大,但上述兩種位移傳感器要獲得與流量對應的位移信號,都需要相應的非線性修正和復雜的機械結構來實現,這會造成轉換器傳動環節多,結構復雜,存在摩擦力,使回差增大,從而降低了金屬轉子流量計的測量精度。
 
實用新型內容
本實用新型解決的技術問題是:提供一種結構簡單的金屬轉子流量計的組合結構,能夠提高金屬轉子流量計的測量精度。
本實用新型的技術方案是:一種金屬轉子流量計的組合結構,包括測量系統和位移傳感裝置,所述測量系統包括錐管和位于錐管中的磁性浮子,其特在于,所述位移傳感裝置包括指針組件、刻度鹽和轉換器,其中,所述指針組件包括轉動軸、感應磁鋼和指針,所述感應磁鋼固定在轉動軸的一端,該感應磁鋼靠近所述磁性浮子,且感應磁鋼的磁場方向與磁性浮子的磁場方向相反,所述指針固定在轉動軸的另一端:所述轉換器包括角位移磁鋼、線性角位移傳感器、集成電路板和液晶顯示器,所述角位移磁鋼固定在所述轉動軸上,所述線性角位移傳感器固定在所述集成電路板上,且所述線性角位移傳感器靠近所述角位移磁鋼,集成電路板與液晶顯示器之間通過數據線連接。
所述角位移磁鋼呈圓環狀。
所述液晶顯示器固定在所述刻度盤上
本實用新型的有益效果是:本實用新型由于簡化了轉換器的結構,使得結構更加簡單,同時采用線性角位移傳感器作為磁性浮子位移檢測元件,去掉了現有技術中的復雜的非線性修正和機械結構,從而提高了測量精度。
 
附圖說明
圖1為本實用新型的結構示意圖
圖2為本實用新型中的角位移磁鋼與線性角位移傳感器的結構示意圖。
具體實施方式
下面結合附圖和實施例對本實用新型作進一步說明
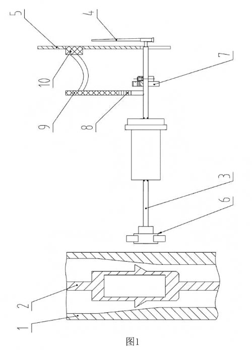
參見圖1、圖2,一種金屬轉子流量計的組合結構,包括測量系統和位移傳感裝置,測量系統包括錐管1和位于錐管1中的磁性浮子2,位移傳感裝置包括指針組件、刻度盤5和轉換器,其中,指針組件包括轉動軸3、感應磁鋼6和指針4,感應磁鋼6固定在轉動軸3的一端,該感應磁鋼6靠近所述磁性浮子2,且感應磁鋼6的磁場方向與磁性浮子2的磁場方向相反,指針4固定在轉動軸3的另一端,其中,磁性浮子2的上端為N極,磁性浮子2的下端為S極,感應磁鋼6的上端為S極,感應磁鋼6的下端為N極。轉換器包括角位移磁鋼7、線性角位移傳感器8、集成電路板9和液晶顯示器10,液晶顯示器10固定安裝在刻度盤5上,角位移磁鋼7呈圓環狀,角位移磁鋼7固定在轉動軸3上,線性角位移傳感器8固定在集成電路板9上,線性角位移傳感器8靠近角位移磁鋼7,集成電路板9與液晶顯示器10之間通過數據線連接。
本實用新型的工作原理是:
當被測流體自下而上流過錐管時,磁性浮子產生位移,通過線性角位移傳感器的磁力線角度就會發生變化,從而使線性角位移傳感器輸出相應電壓,該輸出電壓輸入到集成電路板進行處理后,可輸出與流量對應的標準電流信號,并通過液晶顯示器顯示出測量值。采用線性角位移傳感器測量技術的設計,去掉了現有技術中的復雜機械結構,提高了測量精度。
 

上一條:幾種常見的渦街流量計類型
下一條:氣體渦輪流量計具有哪些測量優勢?


客戶服務熱線
15312307860

聯系我們