久久久久激情I久草网免费I天天天综合网Iav东方在线I国产精品二区在线观看Iwww久久99I91精品色I夜又临在线观看

固定電話:

0517-86881563

手機熱線:

153-1230-7860

當前位置:首頁 >> 新聞動態
一種用于電磁流量計電極的保護套
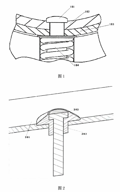
電磁流量計是一種根據法拉第電磁感應定律來測量測量管內導電介質體積流量的感應式儀表。電磁流量計中設置有電極,電極具有電極頭。圖1為現有的電磁流量計的部分結構的截面圖。如圖1所示,電磁流量計中布置有內襯102、測量管的管壁103、用于支撐電極的支撐彈簧104以及電極的電極頭101,等等。在圖1中,電極的電極頭101以裸露的方式布置。
由于在現有的電磁流量計中都以裸蕗的方式布置電極頭,所以電極頭承受液體介質的長時間沖刷,容易磨損。而且,電極頭直接承受液體介質的沖擊所產生的應力(尤其是在大流速的情況下),水垢等雜質容易在電極頭表面附著,從而影響電極的測量環境,降低測量穩定性。另外,因為要考慮到電極頭表面受到的液體的擠壓力,所以要選擇耐磨等級較高的電極材料,從而導致較高的成本。
 
實用新型內容
本實用新型的目的是提供一種用于電磁流量計的電極的保護套以及包括配置了該保抑套的電極的電磁流量計,以解決現有技術中存在的上述問題。
本實用新型的一個方面提供一種用于電磁流量計的電極的保護套,其中,保護套圍繞電極的電極頭形成坡面;以及,保護套的頂部不高于電極頭的頂部
根據另一個實施例,保護套的底部與內襯相接觸。
根據又一個實施例,保護套的外輪廓為圓臺形狀。
根據又一個實施例,保護套的外輪廓為棱錐臺形狀。
根據又一個實施例,保護套的外輪廓形狀根據電極頭的外輪廓形狀而改變
根據又一個實施例,保護套的材料與測量管的內襯的材料兼容或相同
根據又一個實施例,保護套與測量管的內襯為一體成型。
根據又一個實施例,保護套具有下凸部,下凸部用于將保護套固定到內襯中。
本實用新型的另一個方面提供一種電磁流量計,其中,該電磁流量計包括電極以及上述的任意一個保護套
應用本實用新型,通過保護套改變液體介質的流向,由于保護套首先受到液體介質的磨損,所以大大地降低了電極頭所承受的應力,延長了電極頭的使用壽命。并且,以保護套的形式保護電極頭,雜質不容易在電極頭表面附著,從而改善了電極的測量環境,提高了測量穩定性。另外,由于電極頭表面受到的液體介質的擠壓力降低,所以可以選擇耐磨等級較低的電極材料,從而降低成本。
 
附圖說明
參照下面結合附圖對本實用新型的實施例的說明,會更加容易地理解本實用新型的以上和其它目的、特點和優點。在附圖中,相同的或對應的技術特征或部件將采用相同或對應的附圖標記來表示。在附圖中不必依照比例繪制出單元的尺寸和相對位置。
圖1是示意性示出現有的電磁流量計的部分結構的截面圖。
圖2是示意性示出根據本實用新型實施例的電磁流量計的部分結構的截面圖。
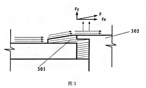
圖3是示意性示出根據本實用新型實施例的保護套受到流動的液體介質的擠壓力的示意圖。
 
具體實施方式
下面參照附圖來說明本實用新型的實施例。應當注意,為了清楚的目的,附圖和說明中省略了與本實用新型無關的、本領域技術人員已知的部件和處理的表示和描述。
圖2是示意性示出根據本實用新型實施例的電磁流量計的部分結構的截面圖。
如圖2中所示,電磁流量計包括測量管的內樹201、電極的電極頭202以及保護套203。保護套203圍繞電極頭202形成坡面。保護套203的頂部不高于電極頭202的頂部。由于該截面圖是放大后的示意圖,因此內襯201的輪廓顯示為平面,但是實際上,內襯201的輪廓為如圖1中的內襯102所顯示的曲面輪廓。
在圖2中,保護套203是圍繞電極頭202而加裝的(與不同尺す的電磁流量計匹配即可)。保護套203的底部與內襯201相接觸。保護套203還具有下凸部,該下凸部用于將保護套203固定到內襯201上。可選擇地,可以通過任意其它方式來固定保護套203
在圖2中,保護套203的外輪廓為圓臺形狀。可選擇地,保護套203的外輪廓可以為棱錐臺形狀。保護套203的外輪廓形狀可以根據電極頭的外輪廓形狀而改變。
保護套203的材料與內襯201的材料可以兼容或相同,在該情況下,保護套203可以與內襯201一體成型。可選擇地,保護套203的材料可以與內襯201的材料不兼容或不相同。
圖3是示意性示出根據本實用新型實施例的保護套受到流動的液體介質的擠壓力的示意圖。
通過液體介質流過由保護套301形成的坡面進行導流,可以產生一個與坡面平行的力F,這個力可以分解為水平方向的カFx和垂直方向的力Fy,與液體介質的流向垂直的カFy可以減少電極頭302表面所承受的壓力,從而減少電極頭的磨損。坡面的傾斜角越大,垂直向上的力Fy也越大。但是,應該注意,坡面的傾斜角不能設置的過大,以免產生擾流,即,坡面的傾斜角的設置不要對液體介質的流速產生影響。通常,為了確保坡面的傾斜角度,保護套的頂部不高于電極頭的頂部。
應用根據本實用新型的實施例的用于電磁流量計的電極的保護套以及包括配置了該保護套的電極的電磁流量計,通過保護套改變液體介質的流向,由于保護套首先受到液體介質的磨損,所以很大地降低了電極頭所承受的應力,延長了電極頭的使用壽命。并且,以保護套的形式保護電極頭,雜質不容易在電極頭表面附著,從而改善了電極的測量環境,提高了測量穩定性。另外,由于電極頭表面受到的液體介質的擠壓力降低,所以可以選擇耐磨等級較低的電極材料,從而降低成本。
 


上一條:用隔膜密封式差壓變送器測量密閉貯罐液位
下一條:抗震型旋進旋渦流量計的構造及用途


客戶服務熱線
15312307860

聯系我們