久久久久激情I久草网免费I天天天综合网Iav东方在线I国产精品二区在线观看Iwww久久99I91精品色I夜又临在线观看

固定電話:

0517-86881563

手機熱線:

153-1230-7860

當前位置:首頁 >> 新聞動態
一種鉆井泥漿儲罐液位報警裝置
油田鉆井作業的過程中對于井漏、井涌等地層的情況反應還處于一個比較原始的階段一主要靠人工來坐崗記錄,其準確性差,實時性不足,在井漏或井涌時,不能及時做出警告而采取措施,嚴重威脅鉆井的順利進行。
 
發明內容
本實用新型的目的就是針對現有技術存在的缺陷,提供一種鉆井泥漿儲罐液位報警裝置。
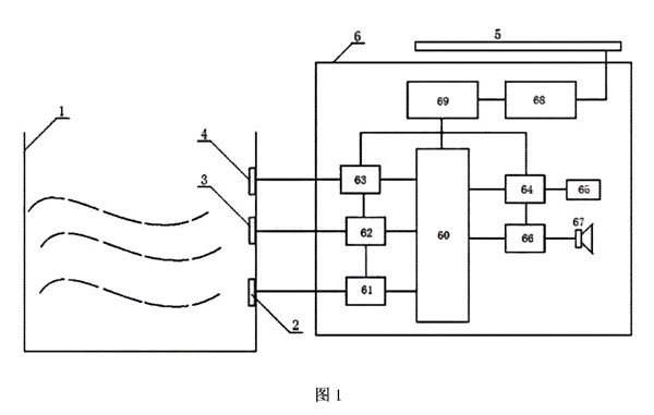
其技術方案是:鉆井泥漿儲罐液位報警裝置,包括泥漿儲罐、傳感器、報警器和太陽能電池,所述泥漿儲罐一側的內壁上,自下而上順次設有第 一傳感器、第 二傳感器和第 三傳感器,所述報警器包括蓄電池、穩壓電路、中央處理器、第 一轉換電路、第 二轉換電路、第 三轉換電路、隔離電路、網絡接口、放大電路和喇叭;所述第 一傳感器通過第 一轉換電路與中央處理器的第 一輸入端相連接,第 二傳感器通過第 二轉換電路與中央處理器的第 二輸入端相連接,第 三傳感器通過第 三轉換電路與中央處理器的第 三輸入端相連接,中央處理器的一輸出端通過隔離電路與網絡接口相連接,中央處理器的另一輸出端通過放大電路與喇叭相連接,所述太陽能電池與蓄電池相連接,蓄電池通過穩壓電路與中央處理器、第 一轉換電路、第二轉換電路、第 三轉換電路、隔離電路及放大電路相連接。
其中,所述第 一傳感器、第 二傳感器及第三傳感器均為壓電陶瓷片。所述中央處理器為單片機電路或可編程控制器。
本實用新型具有設計合理、結構簡單、易于制造、使用方便等優點;工作人員即可坐在辦公室內觀察泥漿儲罐液位,并能實現全天候自動監控工作;當泥漿液位過高或過低時,中央處理器即會通過喇叭報警,指揮中心還能通過網絡對現場喊話,方便指揮,極大的減輕工作人員的勞動強度,具有很好的推廣使用價值。
 
附圖說明
圖1是本鉆井泥漿儲罐液位報警裝置實施例的結構示意圖。
具體實施方式
參照圖1,一種鉆井泥漿儲罐液位報警裝置,包括泥漿儲罐1、傳感器2-4、報警器6和太陽能電池5,所述泥漿儲罐1一側的內壁上,自下而上順次設有第 一傳感器2、第 二傳感器3和第 三傳感器4,所述報警器6包括蓄電池68、穩壓電路69、中央處理器60、第 一轉換電路61、第 二轉換電路62、第 三轉換電路63、隔離電路64、網絡接口65、放大電路66和喇叭67;所述第 一傳感器2通過第 一轉換電路61與中央處理器60的第 一輸入端相連接,第傳感器3通過第 二轉換電路62與中央處理器60的第 二輸入端相連接,第 三傳感器4通過第 三轉換電路63與中央處理器60的第 三輸入端相連接,中央處理器60的一輸出端通過隔離電路64與網絡接口65相連接,中央處理器60的另一輸出端通過放大電路66與喇叭67相連接,所述太陽能電池5與蓄電池68相連接,蓄電池68通過穩壓電路69與中央處理器60、第 一轉換電路61、第 二轉換電路62、第 三轉換電路63、隔離電路64及放大電路65相連接。其中,所述第 一傳感器2、第 二傳感器3及第 三傳感器4均為壓電陶瓷片。所述中央處理器60為單片機電路或可編程控制器。
運行時,報警器6及太陽能電池5安裝在泥漿儲罐頂部,將網絡接口65與指揮中心電腦通過網絡連接,工作人員即可坐在辦公室內觀察泥漿儲罐液位,并能實現全天候自動監控工作;泥漿液位到達第 一傳感器2、第 二傳感器3或第三傳感器4時,其液位信號就會傳送給中央處理器60,中央處理器60通過網絡接口65匯報給指揮中心,當液位過高或過低時,中央處理器60即會通過喇叭67報警,指揮中心還能通過網絡對現場喊話,方便指揮,極大的減輕工作人員的勞動強度,具有很好的推廣使用價值。
 

上一條:靶式流量計的應用特點及工作原理
下一條:油罐物位應用雷達液位計的測量


客戶服務熱線
15312307860

聯系我們