久久久久激情I久草网免费I天天天综合网Iav东方在线I国产精品二区在线观看Iwww久久99I91精品色I夜又临在线观看

固定電話:

0517-86881563

手機熱線:

153-1230-7860

當前位置:首頁 >> 新聞動態
一種電磁流量計的脫蠟裝置
電磁流量計背景技術
現有的基于法拉第電磁感應定律設計的電磁流量計雖然能測量導電流體的流量,但在測量油田井口采出的含蠟原油流量時,由于當溫度低于45℃石蠟就會粘覆在電磁流量計的計量導管內壁上,使計量導管腔頸截面面積變小,造成含蠟原油流體在電磁流量計的計量導管內的流速變快,產生計量誤差,同時,含蠟原油流體在流經電磁流量計測量電極時也會在電極上產生石蠟涂覆層,導致電極接收不到含蠟原油流體流量產生的感應電壓信號,造成電磁流量計無法正常工作。為了克服上述缺陷,目前有**提出了帶有脫蠟裝置的電磁流量計,如公告號為203908605U的名稱為“電磁流量計電極脫蠟裝置”,該**雖然采用了導熱循環泵,克服了石蠟覆層的問題,但若導熱循環泵產生電火花,則易導致安全事故,存在安全隱患。
 
發明內容
本發明的目的是提供一種電磁流量計的脫蠟裝置,解決了利用導熱循環泵使導熱介質流動而帶來的安全隱患問題,其結構簡單、安裝方便、安全性好本發明所采用的技術方案是:一種電磁流量計的脫蠟裝置,包括売體以及設置在殼體內的電磁流量計,所述的殼體是由帶有開口的箱體、*介質通道、吸熱器、第二介質通道組成,箱體的內壁與*介質通道內壁、吸熱器內壁、第二介質通道內壁連接在一起組成存儲循環流動的導熱介質的腔體,在箱體的開口處插接有用于給導熱介質加熱的PIC陶瓷加熱器,PTC陶瓷加熱器經防爆接線座連接電纜,緊固件使防爆接線座固定在PTC陶瓷加熱器下端;帶有測量導管和電極的電磁流量計設置在吸熱器內。
作為一種優選方案,所述的緊固件為鎖緊帽,鎖緊帽與防爆接線座螺紋連接
作為另一種優選方案,所述的PTC陶瓷加熱器的加熱溫度控制在80
作為再一種優選方案,所述的電磁流量計的脫蠟裝置通過法蘭固定在管道內。
作為又一種優選方案,所述的導熱介質被PTC陶瓷加熱器加熱后,使位于PTC陶瓷加熱器附近的導熱介質溫度升高,這部分溫度升高的導熱介質與位于箱體上部的未被加熱的導熱介質發生熱交換,位于箱體出口的導熱介質向上流動,經*介質通道進入吸熱器,使吸熱器的外壁及設置在吸熱器內的測暈導管外壁和電極的溫度也升高,經過熱傳遞后,吸熱器內的導熱介質溫度降低,而位于第二介質通道內的導熱介質被PTC陶瓷加熱器加熱后,溫度升高,與吸熱器內的導熱介質形成溫差,使得位于吸熱器內的導熱介質向第二介質通道流動。
 
本發明具有的優點及積極效果是:該電磁流量計的脫蠟裝置,該裝置的箱體的內壁與*介質通道內壁、吸熱器內壁、第二介質通道內壁連接在一起形成存儲循環流動的導熱介質的腔體,在箱體的開口處插接有用于給導熱介質加熱的PTC陶瓷加熱器,該裝置利用高溫導熱介質做熱源加熱電磁流量計的測量導管,使工作在測量狀態的測量導管內壁及電極極掌面保持45℃以上溫度,當低溫含蠟石油與水混合物流體流過電磁流量計的測量導管時與測量導管內壁及電極極掌面間形成加熱過程,使低溫含蠟原油流體粘覆在測量導管內壁上的及測量電極極掌面上的石蠟涂覆層升溫脫離,保持電磁流量計測量導管內壁及電極極掌面具有可靠的工作狀態。
附圖說明
下面結合附圖對本發明的實施方式作進一步詳細的說明。
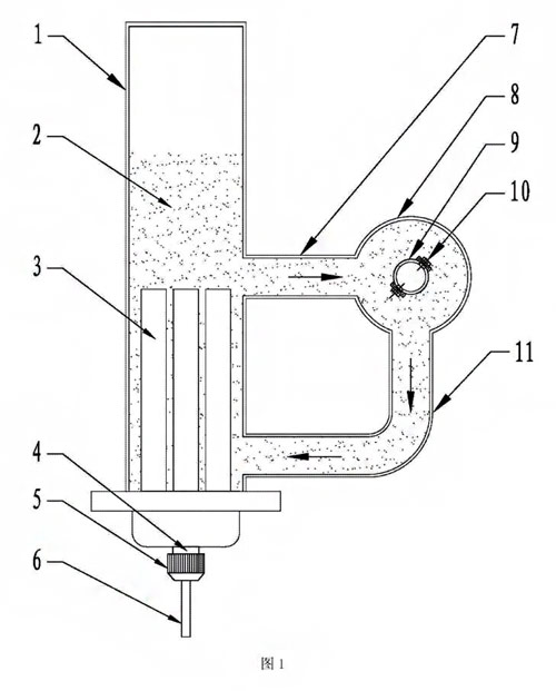
圖1為本發明電磁流量計脫蠟裝置結構示意圖;圖中序號說明:1箱體、2導熱介質、3PTC陶瓷加熱器、4防爆接線座、5鎖緊帽、6電纜、7*介質通道、8吸熱器、9測量導管、10電極、11第二介質通道。
 
具體實施方式
下面結合圖1對本發明的結構做進一步描述。
本實施例的電磁流量計的脫蠟裝置,其結構如圖1所示。包括売體以及設置在殼體內的電磁流量計。売體是由帶有開ロ的箱體1、*介質通道7、吸熱器8、第二介質通道11組成,箱體1的內壁與*介質通道7內壁、吸熱器8內壁、第二介質通道11內壁連接在起形成存儲循環流動的導熱介質2的腔體,在箱體1的開口處插接有用于給導熱介質加熱的PTC陶瓷加熱器3,在陶瓷加熱器3與箱體1的開出處進行密封,防止導熱介質泄露在保證位于脫蠟裝置內的導熱介質2不含水的情況下,本實施例中脫蠟裝置內的導熱介質2可以是與管道內流動的流體相同,也可以不同。本實施例中的導熱介質應滿足:導熱介質的凝固點低于水的凝固點,如可以采用乙二胺或汽車防凍液或油等流體作為導熱介質,本實施例僅以此為例加以說明,用戶可根據需要自行選擇。
PTC陶瓷加熱器3經防爆接線座4連接電纜6,PTC陶瓷加熱器3的輸入端連接到防爆接線座4的輸出端,防爆接線座4的輸入端連接電纜6。緊固件使防爆接線座4固定在PTC陶瓷加熱器3下端,本實施例中采用鎖緊帽5作為緊固件,鎖緊帽5與防爆接線座4螺紋連接。帶有測量導管9和電極10的電磁流量計設置在吸熱器8內。
PTC陶瓷加熱器3的加熱溫度控制在80~100℃。
本實施例中電磁流量計的脫蠟過程為:
電磁流量計的脫蠟裝置通過法蘭固定在管道內。含蠟石油與水的混合物流過上述管道,PTC陶瓷加熱器3通電后釋放熱能,使位于PC陶瓷加熱器3附近的導熱介質2溫度升高,這部分溫度升高的導熱介質2與位于箱體1上部的未被加熱的導熱介質2發生熱交換,位于箱體1出口的導熱介質2向上流動,經*介質通道7進入吸熱器8,使吸熱器8的外壁溫度升高在45℃左右,使粘附在吸熱器8外壁的石蠟涂覆層脫離。同時設置在吸熱器8內的測量導管9外壁和電極10的溫度也隨之升高,使得位于導管9內壁及電極10極掌面的溫度也被加熱到45℃左右,使粘附在導管9內壁及電極10的石蠟涂覆層脫離。
經過熱傳遞后,吸熱器8內的導熱介質溫度降低。而位于第二介質通道11內的導熱介質被PTC陶瓷加熱器3加熱后,溫度升高,與吸熱器8內的導熱介質形成溫差,使得位于吸熱器8內的導熱介質向第二介質通道11流動。如此反復。這種導熱介質的“微循環流動”,采用了流體動力學的原理,替代了利用導熱循環泵使導熱介質循環運動的現有技術由于整個系統不必通過導熱循環泵來進行,節約了成本,同時還使得結構更為簡單、保證了整個裝置的安全性和穩定性。
 

上一條:磁翻板液位計普遍應用故章的分辨與解決!
下一條:淺談壓力變送器的選型與安裝


客戶服務熱線
15312307860

聯系我們