久久久久激情I久草网免费I天天天综合网Iav东方在线I国产精品二区在线观看Iwww久久99I91精品色I夜又临在线观看
固定電話:
0517-86881563
手機熱線:
153-1230-7860
首頁
關于我們
產品博覽
新聞動態
典型案例
行業新聞
聯系我們
當前位置:
首頁
>>
新聞動態
流量儀表系列
電磁流量計
渦街流量計
渦輪流量計
超聲波流量計
孔板流量計
轉子流量計
質量流量計
旋進旋渦流量計
巴類流量計
液體流量計
油流量計
酸流量計
氣體流量計
其它流量計
物位儀表系列
壓力變送器
差壓變送器
液位變送器
溫度變送器
變送器儀表系列
壓力變送器
差壓變送器
液位變送器
溫度變送器
一種電磁流量計的水垢清洗裝置
電磁流量計結構簡單、可靠,無可動部件,工作壽命長,無截流阻流部件,不存在壓力損失和流體堵塞現象,無機械慣性,響應快速,穩定性好,可應用于自動檢測、調節和程控系統,測量精度不受被測介質的種類及其溫度、黏度、密度、壓力等物理量參數的影響,電磁流量計是根據法拉第電磁感應定律進行流量測量的流量計。電磁流量計的優點是壓損極小,可測流量范圍大,zui大流量與zui小流量的比值一般為20:1以上,適用的工業管徑范圍寬,zui大可達3m,輸出信號和被測流量成線性,精確度較高,可測量電導率≥5μs/cm的酸、堿、鹽溶液、水、污水、腐蝕性液體以及泥漿、礦漿、紙漿等的流體流量。針對現有技術存在以下問題:
1、電磁流量計在長時間使用之后,其內部容易附著有大量的水垢,在對電磁流量計進行清洗的過程中,由于電磁流量計的兩端呈圓柱形,導致不便于對電磁流量計進行固定,對其進行清洗;
2、在電磁流量計進行清洗的過程中,不便于對清洗過程中的電磁流量計內部進行噴水,從而導致清洗下來的水垢不便于進行排出。
本發明提供一種電磁流量計用水垢清洗裝置,其中一種目的是為了具備能夠便于對電磁流量計進行固定,解決不便于對電磁流量計進行固定的問題;其中另一種目的是為了解決不便于對清洗過程中的電磁流量計內部進行噴水的問題,以達到能夠對清洗過程中的電磁流量計內部進行噴水,方便清洗后的水垢進行排岀的效果。
為解決上述技術問題,本發明所采用的技術方案是:
一種
電磁流量計
用水垢清洗裝置,包括清洗臺和電磁流量計本體,所述清洗臺的頂部固定安裝有清洗座,所述清洗座的頂部設置有電磁流量計本體,所述清洗臺的頂部且位于清洗座的左側固定安裝有儲水箱,所述儲水箱的頂部固定安裝有固定板。所述清洗臺的頂部且位于清洗座的右側面固定安裝有增高板,所述增高板的頂部固定安裝有防護蓋,所述防護蓋左側面開設有開口。
本技術方案的進一步改進在于:所述清洗座的頂部開設有放置槽,所述放置槽的內壁中部固定安裝有固定分隔板,所述固定分隔板的底部與放置槽的內壁底部相貼合,所述固定分隔板的外壁左右兩側面固定連接有電動伸縮桿,每個所述電動伸縮桿的伸縮端固定連接有支撐板,每個所述支撐板的頂部開設有定位弧形槽,所述電磁流量計本體外壁兩端與貫穿槽的內壁相貼合。
采用上述技術方案,該方案中的電動伸縮桿能夠對支撐板的位置進行調整,進而方便支撐板對電磁流量計本體進行夾持,同時通過定位弧形槽對電磁流量計本體進行固定,方便對電磁流量計本體進行清洗。
本技術方案的進一步改進在于:所述固定板的頂部開設有移動槽,所述移動槽的內壁兩側均開設有滑槽,所述移動槽的內壁滑動連接有水泵。
采用上述技術方案,該方案中的水泵能夠在移動槽的內壁進行移動,從而能夠對水泵的位置進行調整。
本技術方案的進一步改進在于:所述水泵的外壁兩側均固定連接有導向滑塊,每個所述導向滑塊的外壁均與滑槽的內壁滑動連接。
采用上述技術方案,該方案中的導向滑塊能夠避免水泵在移動的過程中發生偏移,同時便于水泵進行移動。
本技術方案的進一步改進在于:所述水泵的右端固定安裝有多孔清洗管,所述水泵的左端設置有彈性輸水管,所述彈性輸水管的一端與水泵的外壁嵌固連接,所述彈性輸水管的另一端與儲水箱的頂部嵌固連接。
采用上述技術方案,該方案中的水泵能夠對多孔清洗管內部進行輸送清洗液,同時多孔清洗管能夠伸入到電磁流量計本體的內部,從而能夠在電磁流量計本體在清洗時保持濕潤。
本技術方案的進一步改進在于:所述增高板的頂部開設有凹槽,所述凹槽的內壁固定連接有固定桿,所述固定桿的外壁滑動連接有安裝座,所述安裝座的底部與凹槽的內壁底部滑動連接。
采用上述技術方案,該方案中的安裝座能夠通過固定桿進行穩定地滑動,從而方便安裝座進行移動。
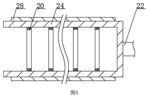
本技術方案的進一步改進在于:所述安裝座的頂部固定安裝有驅動電機,所述驅動電機的驅動端固定連接有U型清洗架,所述U型清洗架的外壁固定安裝有清理刷,所述清理刷的外壁與電磁流量計本體的內壁相貼合,所述U型清洗架的內壁固定安裝有若干個穩固環。
采用上述技術方案,該方案中的穩固環能夠對U型清洗架進行加固,從而使U型清洗架在進行轉動的過程中,能夠避免U型清洗架在轉動的過程中岀現變形,同時清理刷能夠對電磁流量計本體的內壁進行清洗。
本技術方案的進一步改進在于:所述凹槽的內壁開設有貫穿槽,所述安裝座的外壁前后兩側面固定連接有推動桿,所述推動桿的外壁與貫穿槽的內壁滑動連接。
采用上述技術方案,該方案中的推動桿能夠用手來進行推動,從而能夠使安裝座進行左右移動,進而方便對安裝座的位置進行調整。
由于采用了上述技術方案,本發明相對現有技術來說,取得的技術進步是:
1、本發明提供一種電磁流量計用水垢清洗裝置,通過設置的支撐板、定位弧形槽、電動伸縮桿和固定分隔板之間的配合,通過電動伸縮桿能夠對支撐板的位置進行調整,從而能夠方便電磁流量計本體進行放置或拆卸,同時定位弧形槽能夠使
電磁流量計
本體固定得更快捷,同時能夠定位弧形槽能夠對固定的電磁流量計提供支撐,使電磁流量計本體方便進行固定后清洗。
2、本發明提供一種電磁流量計用水垢清洗裝置,通過設置的儲水箱、移動槽、滑槽、導向滑塊、水泵、多孔清洗管和彈性輸水管之間的配合,能夠通過導向滑塊便于水泵進行滑動,從而使水泵和多孔清洗管之間進行同步移動,方便多孔清洗管伸入到電磁流量計本體的內部,從而對電磁流量計本體的內部進行噴灑,方便對電磁流量計本體內部的水垢進行掉落。
3、本發明提供一種電磁流量計用水垢清洗裝置,通過設置的防護蓋、驅動電機、U型清洗架、穩固環、推動桿、固定桿、清理刷和安裝座之間的配合,通過用手移動推動桿,使安裝座進行移動,進而能夠使U型清洗架在電磁流量計本體的內部進行來回移動,從而通過驅動電機帶動U型清洗架進行轉動,使U型清洗架上的清理刷對電磁流量計本體內部的水垢進行清洗,而穩固環能夠避免U型清洗架在清洗過程中岀現損壞。
附圖說明
圖1為本發明的結構示意圖;
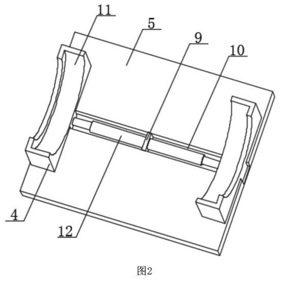
圖2為本發明支撐板與清洗座的結構連接示意圖;
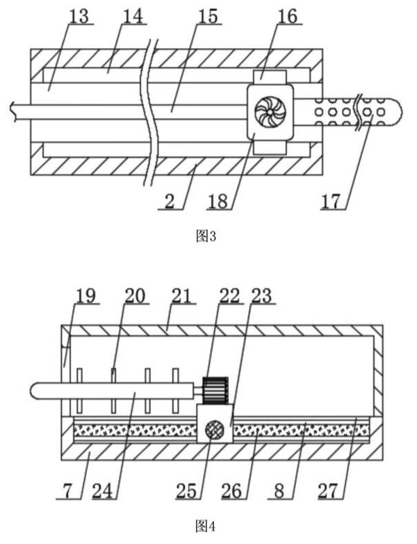
圖3為本發明固定板的結構剖視圖;
圖4為本發明增高板與防護蓋的結構剖視圖;
圖5為本發明穩固環與U型清洗架的結構連接示意圖。
圖中:1、儲水箱;2、固定板;3、清洗臺;4、支撐板;5、清洗座:6、電磁流量計本體;7、增高板:8、貫穿槽:9、固定分隔板;10、放置槽;11、定位弧形槽;12、電動伸縮桿;13、移動槽;14、滑槽:15、彈性輸水管:16、導向滑塊:17、多孔清洗管;18、水泵;19、開口;20、穩固環;21、防護蓋;22、驅動電機;23、安裝座;24、U型清洗架;25、推動桿;26、固定桿;27、凹槽:28清理刷。
具體實施方式
下面結合實施例對本發明做進一步詳細說明:
實施例1
如圖1-5所示,本發明提供了一種電磁流量計用水垢清洗裝置,包括清洗臺3和電磁流量計本體6,清洗臺3的頂部固定安裝有清洗座5,清洗座5的頂部設置有電磁流量計本體6,清洗臺3的頂部且位于清洗座5的左側固定安裝有儲水箱1,儲水箱1的頂部固定安裝有固定板2,清洗臺3的頂部且位于清洗座5的右側面固定安裝有增高板7,增高板7的頂部固定安裝有防護蓋21,防護蓋21左側面開設有開口19。
如圖1-5所示,優選的,清洗座5的頂部開設有放置槽10,放置槽10的內壁中部固定安裝有固定分隔板9,固定分隔板9的底部與放置槽10的內壁底部相貼合,固定分隔板9外壁左右兩側面固定連接有電動伸縮桿12,每個電動伸縮桿12的伸縮端固定連接有支撐板4,每個支撐板4的頂部開設有定位弧形槽11,電磁流量計本體6外壁兩端與貫穿槽8的內壁相貼合,電動伸縮桿12能夠對支撐板4的位置進行調整,進而方便支撐板4對電磁流量計本體6進行夾持,同時通過定位弧形槽11對電磁流量計本體6進行固定,方便對電磁流量計本體6進行清洗。
實施例2
如圖1-5所示,在實施例1的基礎上,本發明提供一種技術方案:優選的,固定板2的頂部開設有移動槽13,移動槽13的內壁兩側均開設有滑槽14,移動槽13的內壁滑動連接有水泵18,水泵能夠在移動槽的內壁進行移動,從而能夠對水泵的位置進行調整,水泵18的外壁兩側均固定連接有導向滑塊16,每個導向滑塊16的外壁均與滑槽14的內壁滑動連接,導向滑塊16能夠避免水泵18在移動的過程中發生偏移,同時便于水泵18進行移動,水泵18的右端固定安裝有多孔清洗管17,水泵18的左端設置有彈性輸水管15,彈性輸水管15的一端與水泵18外壁嵌固連接,彈性輸水管15的另一端與儲水箱1的頂部嵌固連接,水泵18能夠對多孔清洗管17內部進行輸送清洗液,同時多孔清洗管17能夠伸入到電磁流量計本體6的內部,從而能夠在電磁流量計本體6在清洗時保持濕潤,同時也便于電磁流量計本體6內部的水垢進行流出。
實施例3
如圖1-5所示,在實施例1的基礎上,本發明提供一種技術方案:優選的,增高板7的頂部開設有凹槽27,凹槽27的內壁固定連接有固定桿26,固定桿26的外壁滑動連接有安裝座23,安裝座23的底部與凹槽27的內壁底部滑動連接,安裝座23能夠通過固定桿26進行穩定地滑動,從而方便安裝座23進行移動,凹槽27的內壁開設有貫穿槽8,安裝座23的外壁前后兩側面固定連接有推動桿25,推動桿25外壁與貫穿槽8的內壁滑動連接,推動桿25能夠用手來進行推動,從而能夠使安裝座23進行左右移動,進而方便對安裝座23的位置進行調整,安裝座23的頂部固定安裝有驅動電機22,驅動電機22的驅動端固定連接有U型清洗架24,U型清洗架24的外壁固定安裝有清理刷28,清理刷28的外壁與電磁流量計本體6的內壁相貼合,U型清洗架24的內壁固定安裝有若干個穩固環20,通過啟動驅動電機22帶動U型清洗架24進行轉動,使U型清洗架24上的清理刷28對電磁流量計本體6內部的水垢進行清洗,穩固環20能夠對U型清洗架24進行加固,從而使U型清洗架24在進行轉動的過程中,能夠避免U型清洗架24在轉動的過程中出現變形。
下面具體說一下該電磁流量計用水垢清洗裝置的工作原理。
如圖1-5所示,在對電磁流量計本體6進行清洗時,通過電動伸縮桿12推動支撐板4向外移動,使電磁流量計本體6放置在定位弧形槽11上,使電動伸縮桿12對支撐板4進行收縮,從而更加快捷的對電磁流量計本體6進行固定,同時定位弧形槽1l也能對電磁流量計本體6提供支撐,使電磁流量計本體6固定后進行清洗,通過導向滑塊16方便對水泵18進行滑動,使水泵18上的多孔清洗管17能夠移動到電磁流量計本體6的內部,對電磁流量計本體6內部進行噴水,使電磁流量計本體6內部的水垢進行掉落,而彈性輸水管15能夠便于水泵18在移動后進行供水,通過用手移動推動桿25,使安裝座23進行移動,使U型清洗架24在電磁流量計本體6的內部進行來回移動,便于對電磁流量計本體6內部清洗得更加徹底,從而通過啟動驅動電機22帶動U型清洗架24進行轉動,使U型清洗架24上的清理刷28對電磁流量計本體6內部的水垢進行清洗,而穩固環20能夠避免U型清洗架24在清洗過程中出現損壞。
上一條:
一種陀螺式電極智能電磁流量計
下一條:
智能氣體渦輪流量計測量蒸汽時出現誤差該怎么
創輝自動化儀表
固定電話:0517-86881563
工程師熱線:15312307860
公司郵箱:2509499123@qq.com
公司地址:江蘇省淮安市金湖縣工一路16號
流量儀表系列
電磁流量計
渦街流量計
渦輪流量計
超聲波流量計
孔板流量計
物位儀表系列
磁翻板液位計
超聲波液位計
雷達物位計
浮球液位開關
變送器儀表系列
壓力變送器
差壓變送器
液位變送器
溫度變送器
欄目導航
關于我們
產品博覽
新聞動態
典型案例
行業新聞
聯系我們
版權所有? 江蘇創輝自動化儀表有限公司 2023 All Rights Reserved.
網站備案號:
蘇ICP備2023013008號-2
友情鏈接:
財產保全擔保
客戶服務熱線
15312307860
聯系我們