久久久久激情I久草网免费I天天天综合网Iav东方在线I国产精品二区在线观看Iwww久久99I91精品色I夜又临在线观看

固定電話:

0517-86881563

手機熱線:

153-1230-7860

當前位置:首頁 >> 新聞動態
一種陀螺式電極智能電磁流量計
技術領域:
本實用新型涉及一種陀螺式電極智能電磁流量計,屬于測量管道內液體流量的智能電磁流量計技術領域。
 
背景技術:
目前,智能電磁流量計在液體的流量測量中得到**應用,一般組成包括主機、傳感器、電極,電極布置在傳感器筒體內,常用的智能電磁流量計電極的形狀主要有方形和圓形的等,在使用中由于密封性能不好,很容易出現向筒體內漏水等現象,同時現場使用中經常遇到管道振動等情況,此時電極容易松動,造成漏水、信號差、無法使用等情況;而且一旦出現上述情況,維護起來很困難,只能是停產維修。

實用新型內容:
本實用新型目的是提供一種陀螺式電極智能電磁流量計,防水性能好,電極安裝牢固,解決背景技術中存在的上述問題。
本實用新型的技術方案是:陀螺式電極智能電磁流量計包含傳感器筒體、主機、電極,主機設置在傳感器筒體上,傳感器為筒狀結構,電極為陀螺式結構,并有電極桿,電極桿上設有螺紋,電極布置在傳感器筒體內,電極桿與傳感器筒體之間通過螺紋連接。
所說的電極包含電極桿、電極托臺、接液面,電極托臺與接液面一起構成陀螺結構,電極托臺與電極桿連為一體:接液面是電極與被測液體接觸面。
電極桿上的螺紋可以旋進傳感器筒體內的內襯材料里,電極桿的長度盡量長一些。
電極托臺的形狀為錐型,電極托臺外緣與電極桿中心線成45°角,與接液面一起構成陀螺結構。
電極托臺上設有若干道防水線,設置防水線是為了讓內襯材料擠進其中,能更好的起到密封作用,防止通過電極向筒體內漏水造成信號差、無法正常使用等情況。
本實用新型的有益效果是:陀螺式電極專門為了防止漏水而設計的,電極本身具有一個長的電極桿,電極桿上的螺紋可以旋進傳感器筒體內的內襯材料里,一是很牢固的固定電極,使電極不會因為管道的振動而松動;二是使電極桿和內襯可以充分的接觸防止電極處漏水;電極托臺的形狀為錐型,為了使電極和內襯充分的接觸,從而防止電極漏水;電極托臺上設有若干道防水線,設置防水線是為了讓內襯材料擠進其中,能更好的起到密封作用,防止通過電極向筒體內漏水造成信號差、無法正常使用等情況。
 
附圖說明:
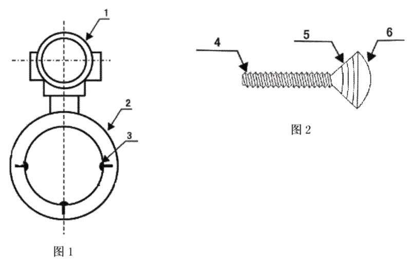
附圖1是本實用新型實施例的示意圖;
附圖2是本實用新型的電極結構示意圖;
圖中:主機1、傳感器筒體2、電極3、電極桿4、電極托臺5接液面6。
 
具體實施方式:
以下結合附圖,通過實施例對本實用新型作進一步說明。
在實施例中,陀螺式電極智能電磁流量計包含傳感器筒體2、主機1、電極3,主機設置在傳感器筒體上,傳感器為筒狀結構,電極為陀螺式結構,并有電極桿4電極桿上設有螺紋,電極布置在傳感器筒體內,電極桿與傳感器筒體之間通過螺紋連接。電極包含電極杄4、電極托臺5、接液面6,電極托臺與接液面一起構成陀螺結構,電極托臺與電極桿連為一體;接液面是電極與被測液體接觸面。電極桿上的螺紋旋進傳感器筒體內的內襯材料里,電極桿的長度盡量長一些。電極托臺的形狀為錐型,電極托臺外緣與電極桿中心線成45°角,與接液面一起構成陀螺結構。
實施例中,電極桿上設有長18mm的螺紋,為了增加密封性,電極托臺上有三道防水線。具體安裝方式:先將電極桿4從傳感器筒體2的內側直接旋進內襯里,當筒體外側露出電極桿4后,將電極桿4上裝一個0型膠圈,上面再裝一小塊絕緣板,加好絕緣板后,將電極桿4上接好線以供使用,zui后上面用螺絲校緊,直到接液面6的邊緣和內襯很好的結合為止。將電極3安裝好以后,再將線圈以固定的方式安裝好,將線引出與主機1接好,zui后將主機固定。

上一條:孔板結污對煤氣流量計量的影響
下一條:一種電磁流量計的水垢清洗裝置


客戶服務熱線
15312307860

聯系我們