久久久久激情I久草网免费I天天天综合网Iav东方在线I国产精品二区在线观看Iwww久久99I91精品色I夜又临在线观看

固定電話:

0517-86881563

手機熱線:

153-1230-7860

當前位置:首頁 >> 新聞動態
分體式電磁流量計傳感器接線盒結構
技術領域
本實用新型涉及一種電磁流量計傳感器接線盒,尤其涉及一種分體式電磁流量計傳感器接線盒,屬于測量設備技術領域。
 
背景技術
現有的分體式電磁流量計傳感器接線盒大多采用**進線,接線時需要將接線盒整體拆下才可以接線,使用過程中由于操作人員技術問題往往會造成接線盒與傳感器、進線口密封不良,防水性能下降,并引起接線端子部位絕緣下降,設備無法正常測量。
 
實用新型內容
本實用新型所要解決的技術問題是,克服現有技術的缺點,提供一種結構簡單、密封性良好、適用性強、方便安裝、拆卸的分體式電磁流量計傳感器接線盒。
為了解決以上技術問題,本實用新型提供一種分體式電磁流量計傳感器接線盒,包括殼體和分體蓋,殼體上端連接分體蓋,還包括端子排,端子排的兩端設有螺孔,與螺孔配合設有螺釘,端子排通過螺釘穿過螺孔固定在売體的安裝座上,端子排與殼體安裝座的連接處設有安裝座密封圏,殼體的側面設有螺紋孔,與螺紋孔配合裝有格蘭頭,格蘭頭上設有進線孔,電纜線穿過進線孔連接端子排。這樣,保證電纜與管道軸線方向一致,不會造成外部的液體流入殼體內。
 
本實用新型進一步限定的技術方案是:
優選地,安裝座密封圈采用“0”型密封圏。使設備的密封效果更好。
優選地,分體蓋通過“0”型密封圈與殼體密封連接
優選地,殼體采用圓筒形結構,殼體的下端通過螺釘固定在流量傳感器上端。適用于各種傳感器,并且安裝方便,拆卸簡易。
優選地,殼體與流量傳感器的連接處設有橡膠密封墊密封連接。
本實用新型的有益效果是:本實用新型結構簡單、密封性好、適用性強且便于安裝拆卸,使用時電纜與管道軸線方向一致,從而不會造成外部的液體流入売體內。
 
附圖說明
圖1為本實用新型結構的主視圖。
圖2為本實用新型結構的左視圖
圖3為本實用新型的內部結構示意圖。
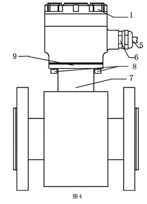
圖4為本實用新型使用結構圖。
 
具體實施方式
實施例1
本實施例提供的一種分體式電磁流量計傳感器接線盒,如圖1、圖2和圖3所示,包括売體3和分體蓋1,還包括端子排7,売體3上端連接分體蓋1,端子排7的兩端設有螺孔,與螺孔配合設有螺釘,端子排7通過螺釘穿過螺孔固定在売體3的安裝座上,売體3的側面設有螺紋孔4,與螺紋孔4配合裝有格蘭頭6,格蘭頭上設有進線孔,電纜線5穿過進線孔連接端子排7。
001]安裝座密封圏2采用“0”型密封圖。
分體蓋1通過“0”型密封圏與売體3密封連接,分體蓋1的上端設有不規則的凹槽,便于拆卸。
殼體3采用圓筒形結構,売體3的下端通過螺釘固定在流量傳感器上端。
売體3與流量傳感器的連接處設有橡膠密封墊密封連接。
本實施例如圖4所示,分體接線盒用4只M6的螺釘8將売體3與固定在流量傳感器7上端,殼體3與傳感器7之間采用橡膠密封墊9密封。端子排7用兩個M4的螺釘固定在売體內,接線端子通過連接電纜5,穿過安裝在殼體上的格蘭頭6連接到變送器。分體蓋1通過螺紋擰緊在殼體3的上端,分體蓋1與売體3的密封采用0型圏密封。使用時電纜5與管道軸線方向一致,管道為垂直方向時,電纜出線方向朝下,從而不會造成外部的液體流入殼內。
本實用新型分體式電磁流量計傳感器接線盒的優點在于,結構簡單、密封性好、適用性強且便于安裝拆卸。
 
 

上一條:一種電磁流量計傳感器模塊化組裝裝置
下一條:電磁流量計在燒結紅泥流量計量中的應用


客戶服務熱線
15312307860

聯系我們