久久久久激情I久草网免费I天天天综合网Iav东方在线I国产精品二区在线观看Iwww久久99I91精品色I夜又临在线观看

固定電話:

0517-86881563

手機熱線:

153-1230-7860

當前位置:首頁 >> 新聞動態
一種電磁流量計傳感器模塊化組裝裝置
技術領域
本發明涉及電磁流量計技術領域,具體涉及一種電磁流量計傳感器模塊化組裝裝置。
 
背景技術
流量計是測量管道或明渠中流體流量的一種儀表,而流量計可分為差壓式流量計、節流式流量計、容積流量計、電磁流量計等,而其中的電磁流量計是根據導電流體通過外加磁場時感生的電動勢來測量導電流體流量的一種測量儀表,具有低功耗受干擾功能強的優點。而現有電磁流量計傳感器組裝過程中,特別是勵磁線圈和砂鋼片的組裝由于手工程度高,導致產品組裝效率低、一致性差等不可控因數增加,影響車間的生產效率
 
發明內容
針對現有技術的不足,本發明提供一種電磁流量計傳感器模塊化組裝裝置
本發明的電磁流量計傳感器模具,包括模具底座,模具底座的頂面固定連接有模具擋板,模具擋板的表面固定連接有模具連接桿,模具連接杄遠離模具擋板的一端固定連接有調節模具,模具擋板的表面開設有升降活動槽,升降活動槽的內壁滑動連接有升降滑塊,升降滑塊的表面固定連接有升降板,升降板的表面開設有調節活動槽,調節活動槽的內壁活動連接有調節滑塊,調節滑塊的表面固定連接有調節桿,調節桿遠離調節滑塊的一端貫穿調節活動槽的內壁并延伸至升降板的外部,升降板的內部開設有與調節桿相配適的滑槽,調節桿的一端螺紋連接有固定蓋,調節滑塊的頂面固定連接有定位滑軌,升降板的底面固定連接有升降連接架,升降連接架的底面固定連接有升降活塞,升降活塞的表面套接有升降套管,升降套管的底端與模具底座的頂面固定連接,模具底座的頂面開設有與升降套管相配適的凹槽,升降套管的表面連通有導氣管,導氣管遠離升降套管的一端貫穿模具擋板的表面并延伸至模具擋板的外部并連通有氣囊,氣囊的表面設置有氣門芯,氣囊的底面活動連接有氣囊托板,氣囊托板的表面與模具底座的表面固定連接。
本發明的電磁流量計傳感器模具,其中升降板的數量為兩個,且兩個升降板以升降連接架的正面中線為對稱軸分布在升降連接架的頂面。
本發明的電磁流量計傳感器模具,其中升降活動槽與升降滑塊的數量均為四個,且兩個升降活動槽與升降滑塊為一組,兩組升降活動槽與升降滑塊分別分布在升降板的頂面。
本發明的電磁流量計傳感器模具,其中模具底座的頂面固定連接有固定擋板,模具底座的頂面開設有彈簧伸縮槽,彈簧伸縮槽的內壁固定連接有伸縮彈簧,伸縮彈簧的**固定連接有限位桿,限位桿的表面固定連接有彈性卡齒,固定擋板的表面與彈性卡齒的表面活動連接。
本發明的電磁流量計傳感器模具,其中模具底座的頂面通過鉸鏈固定連接有活動限位板,活動限位板的表面與彈性卡齒的表面活動連接。
本發明的電磁流量計傳感器模具,其中限位桿的數量為兩個,且兩個限位桿以模具底座的正面中線為對稱軸分布在兩個升降板的底面。
與現有技術相比,本發明的有益效果如下
1、本發明通過調節模具與定位滑軌,使得在組裝模具時,能夠通過焊機的定位裝置在定位滑軌上滑動,從而能夠直接將需要焊接的焊釘焊接到需要組裝的電磁流量計傳感器上,不需人工手動定位,避免手動焊接造成的誤差,從而避免了產品組裝時的不可控性,達到了提高車間生產效率的效果。
2、本發明通過氣囊與調節桿,在需要安裝不同的零件時,通過觀察定位滑軌與調節模具的相對位置,調節定位滑軌的高度和在升降板上的位置,來配合不同零件的安裝位置,從而達到了方便傳感器組裝的效果。
附圖說明
此處所說明的附圖用來提供對本申請的進一步理解,構成本申請的一部分,本申請的示意性實施例及其說明用于解釋本申請,并不構成對本申請的不當限定。在附圖中
圖1為電磁流量計傳感器模具正剖結構示意圖
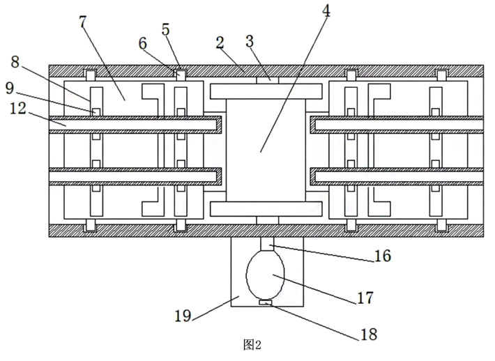
圖2為電磁流量計傳感器模具俯視結構示意圖
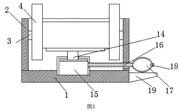
圖3為電磁流量計傳感器模具側剖結構示意圖
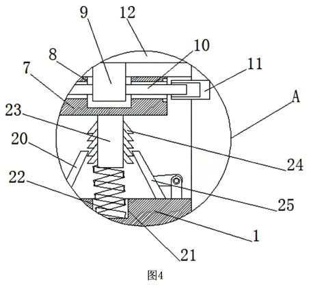
圖4為圖1中A處放大結構示意圖。
圖中:1、模具底座:2、模具擋板:3、模具連接桿;4、調節模具:5、升降活動槽:6、升降滑塊:7、升降板:8、調節活動槽:9、調節滑塊:10、調節桿;11、固定蓋:12、定位滑軌:13、升降連接架;14、升降活塞;:15、升降套管;16、導氣管;17、氣囊;18、氣門芯:19、氣囊托板:20、固定擋板:21、彈簧伸縮槽:22、伸縮彈簧:23、限位桿;24、彈性卡齒:25、活動限位板.
 
具體實施方式
以下將以圖式介紹本發明的多個實施方式,為明確說明起見,許多實務上的細節將在以下敘述中一并說明。然而,應了解到,這些實務上的細節不應用以限制本發明。也就是說,在本發明的部分實施方式中,這些實務上的細節是非必要的。此外,為簡化圖式起見,一些習知慣用的結構與組件在圖式中將以簡單的示意的方式繪示之。
另外,在本發明中如涉及“*”、“第二”等的描述僅用于描述目的,并非特別指稱次序或順位的意思,亦非用以限定本發明,其僅僅是為了區別以相同技術用語描述的組件或操作而已,而不能理解為指示或暗示其相對重要性或者隱含指明所指示的技術特征的數量。由此,限定有“*”、“第二”的特征可以明示或者隱含地包括至少ー個該特征。另外,各個實施例之間的技術方案可以相互結合,但是必須是以本領域普通技術人員能夠實現為基礎,當技術方案的結合出現相互矛盾或無法實現時應當認為這種技術方案的結合不存在,也不在本發明要求的保護范圍之內。
本發明的電磁流量計傳感器模具,包括模具底座1,模具底座1的頂面固定連接有模具擋板2,模具擋板2的表面固定連接有模具連接桿3,模具連接桿3遠離模具擋板2的一端固定連接有調節模具4,模具擋板2的表面開設有升降活動槽5,升降活動槽5的內壁滑動連接有升降滑塊6,升降滑塊6的表面固定連接有升降板7,升降板7的表面開設有調節活動槽8,調節活動槽8的內壁活動連接有調節滑塊9,調節滑塊9的表面固定連接有調節桿10,調節桿10遠離調節滑塊9的一端貫穿調節活動槽8的內壁并延伸至升降板7的外部,升降板7的內部開設有與調節桿10相配適的滑槽,調節桿10的一端螺紋連接有固定蓋11,調節滑塊9的頂面固定連接有定位滑軌12,通過調節模具4與定位滑軌12,使得在組裝模具時,能夠通過焊機的定位裝置在定位滑軌12上滑動,從而能夠直接將需要焊接的焊釘焊接到需要組裝的電磁流量計傳感器上,不需人工手動定位,避免手動焊接造成的誤差,從而避免了產品組裝時的不可控性,達到了提高車間生產效率的效果,升降板7的底面固定連接有升降連接架13,升降連接架13的底面固定連接有升降活塞14,升降活塞14的表面套接有升降套管15,升降套管15的底端與模具底座1的頂面固定連接,模具底座1的頂面開設有與升降套管15相配適的凹槽,升降套管15的表面連通有導氣管16,導氣管16遠離升降套管15的一端貫穿模具擋板2的表面并延伸至模具擋板2的外部并連通有氣囊17,氣囊17的表面設置有氣門芯18,氣囊17的底面活動連接有氣囊托板19,氣囊托板19的表面與模具底座1的表面固定連接,氣囊17與調節桿10,在需要安裝不同的零件時,通過觀察定位滑軌12與調節模具4的相對位置調節定位滑軌12的高度和在升降板7上的位置,來配合不同零件的安裝位置,從而達到了方便傳感器組裝的效果。
升降板7的數量為兩個,且兩個升降板7以升降連接架13的正面中線為對稱軸分布在升降連接架13的頂面,使得能夠保證同時對傳感器兩邊的零件安裝**定位。
升降活動槽5與升降滑塊6的數量均為四個,且兩個升降活動槽5與升降滑塊6為組,兩組升降活動槽5與升降滑塊6分別分布在升降板7的頂面,使得定位滑軌12的移動更為穩定,不易卡住。
模具底座1的頂面固定連接有固定擋板20,模具底座1的頂面開設有彈簧伸縮槽21,彈簧伸縮槽21的內壁固定連接有伸縮彈簧22,伸縮彈簧22的**固定連接有限位桿23,限位桿23的表面固定連接有彈性卡齒24,固定擋板20的表面與彈性卡齒24的表面活動連接,使得能夠在升降板7升高時保證升降板7的穩定不會滑落。
模具底座1的頂面通過鉸鏈固定連接有活動限位板25,活動限位板25的表面與彈性卡齒24的表面活動連接,使得能夠保證在需要降下升降板7時能夠將活動限位板25放下即可快速降低升降板7高度,方便控制。限位桿23的數量為兩個,且兩個限位桿23以模具底座1的正面中線為對稱軸分布在兩個升降板7的底面,使得對升降板7的支撐更為穩定,保證安裝定位的準確率。
在使用本發明時,在確定零件在傳感器上的安裝位置后,通過移動調節桿10的位置,將定位滑軌12對準至調節模具4上的位置后,擰動固定蓋11使得定位滑軌12固定,隨后按壓氣囊17,使得升降套管15中的升降活塞14將升降板7升起,移動到合適的位置后,即可將外部設備的定位裝置放到定位滑軌12中,利用靠模的原理,外部的焊接或安裝設備即可沿著定位滑軌12的軌跡移動,保證在安裝臺上的零件能夠對準模具需要安裝的位置,不需人工手動對準,避免安裝出現誤差,達到了提高車間生產效率的效果。
 

上一條:水廠電磁流量計的選用與安裝
下一條:分體式電磁流量計傳感器接線盒結構


客戶服務熱線
15312307860

聯系我們