久久久久激情I久草网免费I天天天综合网Iav东方在线I国产精品二区在线观看Iwww久久99I91精品色I夜又临在线观看

固定電話:

0517-86881563

手機熱線:

153-1230-7860

當前位置:首頁 >> 新聞動態
電磁供電潛水型電磁流量計具體結構和實施方式
本新型潛水型電磁流量計要解決的問題
目前,對明渠流量的測量計量常采用的計量設備有堰糟式流量明渠計和超聲波原理的明渠流量計如多普勒法流量計、時差法流量計等。堰槽式流量明渠計由量水堰糟裝置和水位流量轉換儀表(二次儀表)所組成。量水堰槽裝置包括:上下游行近段、堰體和水位觀測設施。其瞬時流量靠水位流量關系査表而獲得,即以堰槽為基本載體,測量堰槽定點水位利用既定的水位流量對應關系査詢流量值。但是,堰槽式流量明渠計適用范圍相對較窄并要求地勢有較大坡降,不能監測對應的流量的實時流速,下游壅水時無法判斷真實流量也就無法測量實際過流量;超聲波原理的明渠流量計對水質要求過高不能測量污水、含雜質較高的流體,聲波在不同溫度和介質中傳播速度不同,會造成流速測量零點偏移和準確度不穩定,受環境影響較大。它計量不穩定、不可靠、不能測量含雜質較高、含泥沙量大的流體。存在著很多局限性和不穩定性無法全實施推廣。上述兩種明渠流量計在計量準確度要求方面都不能滿足貿易用水計量的要求,會給實際生活帶來很多困難。由于這兩種明渠流量計功耗相對較大都是以交流或者直流24V電為電源的,在使用中由于需要解決現場電源問題,會給實際使用帶來很多困難。
 
發明內容
本電池供電潛水型電磁流量計,它能夠克服己有技術的不足,可有效地提高明渠流量測量的穩定可靠性,以及測量的準確性和準確性,從而可解決明渠流量計量不準確、計量難的問題,實現綜合檢測明渠過流斷面流量值,以滿足貿易結算中貿易用水計量的要求。并能解決實際使用現場所需電源的問題其解決方案是:由潛水型電磁流量傳感器及與其電連接的電池供電潛水型電磁流量轉換器構成電池供電潛水型電磁流量計。將潛水型電磁流量傳感器安裝在明渠渠道內,而電池供電潛水型電磁流量轉換器設置在機房內。通過潛水型電磁流量傳慼器改變明渠渠道內的過流斷面,使渠道內所有流體通過由潛水型電磁流暈傳感器組成的標準斷面,用來測量傳感器內部斷面的平均流速,并通過電池供電電磁流量轉換器計算出過流斷面的流量,并將流量、流速、累積按一定協議輸出和顯示。
所述潛水型電磁流量傳感器為喇叭口型或彎管型。
所述安裝在明渠渠道內的潛水型電磁流量傳感器至少為一個。
本實用新型采用上述技術方案,它是將潛水型電磁流量傳感器安裝在明渠渠道內,而將電池供電潛水型電磁流量計轉換器設置在機房內。通過潛水型電磁流量傳感器改變明渠渠道內的過流斷面,使渠道內所有流體通過由潛水型電磁流量傳感器組成的標準斷面,并用來測量傳感器斷面內平均流速,并通過電池供電潛水型電磁流量轉換器計算出過流斷面的流量、累積流量。可有效地提高明渠流量測量的穩定、可靠性以及測量的準確性和準確性,從而解決明渠流暈計量不準確、計量難的問題,實現綜合檢測明渠過流斷面流量值,以滿足貿易結算中貿易用水計量的要求。同時還能解決實際使用現場所需電源的問題,給測量工作帶來方便。
 
下面附圖說明
圖1實施例1為電池供電潛水型電磁流量計的結構示意圖之一
圖2實施例2為電池供電潛水型電磁流量計的結構示意圖之二
圖3為實施例1安裝在明渠中的使用狀態圖
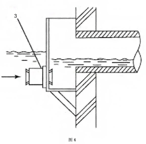
圖4為實施例1安裝在水渠的進口端之使用狀態圖
圖5為實施例1安裝在水坑中的使用狀態圖
圖6為實施例1安裝在排放管中的使用狀態圖
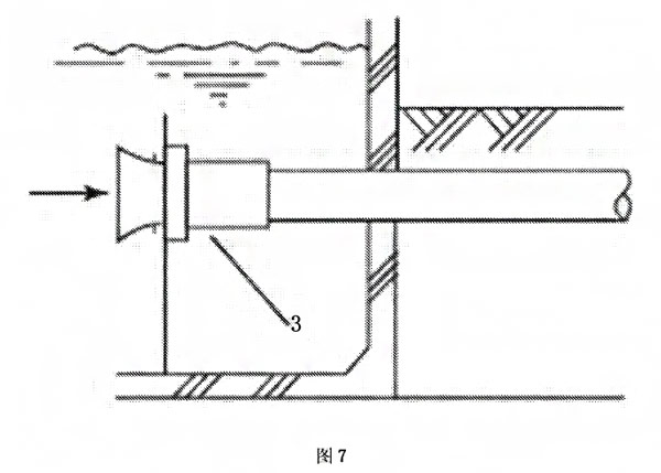
圖7為實施例1安裝在水渠的排放端的使用狀態圖
圖8為實施例2帶有彎管法蘭安裝在污水預處理廠中的使用狀態圖。
具體實施方式
下面結合附圖詳細描述本新型潛水型電磁流量計的具體實施方式。
實施例1
圖1中,潛水型電磁流量傳感器3為喇叭口型,它通過信號傳輸電纜2與電池供電潛水型電磁流量轉換器1電連接構成電池供電潛水型電磁流量計。將喇叭口型潛水型電磁流量傳感器3安裝在明渠渠道內,而電池供電潛水型電磁流量轉換器1設置在機房內。通過喇叭口型潛水型電磁流量傳感器3改變明渠渠道內的過流斷面,使渠道內所有流體通過由該潛水型電磁流量傳感器3組成的標準斷面,用潛水型電磁流量傳感器3測量傳感器斷面內平均流速;通過電池供電潛水型電磁流量轉換器計算出過流斷面的流量,并將流量、流速、累積按一定協議輸出和顯示。
所述喇叭口型潛水型電磁流量傳感器3是利用法拉第電磁感應定律制成的,它由傳感器殼體及其內設置的并與流量顯示義電連接的勵磁線圈、一對信號電JI、平衡信號接地電JI,以及與傳感器殼體密封連接的端蓋構成。它能夠檢測出與被測量過流斷面內的流速成正比的感應電勢,測出該感應電勢就可導出通過傳感器的流量,即可發出流量信號。
所述電池供電潛水型電磁流量轉換器主要包括CPU芯片及前置放大器、勵磁電路、脈沖輸出、狀態控制、通訊接口、水位輸入(可選配附加功能)、鍵盤、LCD顯示器等。電池組供電電源的電源輸出端接該電池供電潛水型電磁流量轉換器1的電源輸入端,由電池組為潛水型電磁流量轉換器1供電,CPU中央處理器控制所有電路、功能工作。具體應為由CPU控制勵磁電路為喇叭口型潛水型電磁流暈傳感器3提供激勵信號,該潛水型電磁流量傳感器3反饋流速信號并經電池供電潛水型電磁流量轉換器的A/D電路轉換放大送入CPU處理:送回CPU處理計算出流速、流量、并對時間積分產生累積流量。CPU根據實際電路轉換將流量、流速、累積按一定協議輸出和顯示:而鍵盤電路時刻檢測具體按鍵輸入電路,一且有輸入即做相應回饋動作。而水位輸入可選配的附加功能一提供計量參考不參與流量計量,通過水位采集監測電路讀取水位傳感器采集的水深信號并做出水深條件是否符合計量要求的回應,如果實際水深低于一定的值時,流速測量過小進而會導致流量測量精度下降進行明渠流量的測量時,將喇叭口型潛水型電磁流量傳感器3安裝在如圖3、圖4、圖5、圖6及圖7所示的位置,以改變過流斷面組成標準過流斷面,使渠道內所有流體通過由喇叭口型潛水型電磁流量傳感器3組成的標準斷面,通過喇叭口型潛水型電磁流量傳感器3檢測出與被測量過流斷面內的流速成正比的感應電勢,測出該感應電勢就可導出通過喇叭口型潛水型電磁流量傳感器3的流量,即可發出流量信號。由電池供電潛水型電磁流量轉換器1的CPU控制勵磁電路為喇叭口型潛水型電磁流量傳感器3提供激勵信號,該潛水型電磁流量傳感器3反饋流量信號并經電池供電潛水型電磁流量轉換器1的A/D電路轉換放大送入CPU處理;送回所述CPU處理計算出流速、流量、并對時間積分產生累積流量。該CPU根據實際電路轉換將流量、流速、累積按一定協議輸出和顯示:而鍵盤電路時刻檢測具體按鍵輸入電路,一旦有輸入即做相應回饋動作。
實施例2
圖2中,潛水型電磁流量傳感器3為彎管型,進行明渠流量的測量時,將彎管型電磁流量傳感器3安裝在如圖8所示的位置,其它均同實施例1。
 

上一條:電磁流量計安裝中如何有效減少彎管對測量的影
下一條:孔板流量計在使用中產生誤差的主要原因


客戶服務熱線
15312307860

聯系我們