分體式電磁流量計是電磁流量計普遍應用的形式,傳感器接入管道,轉換器裝在儀表室或人們易于接近的傳感器附近,相距數十到數百米。為防止外界噪聲侵入,信號電纜通常采用雙芯屏蔽線。測量電導率較低液體而相聚超過30m時,為防止電纜部分電容造成信號衰減,內層屏蔽也有要求接上與芯線同電位低阻抗源的屏蔽驅動。分體型電磁流量計的轉換器可遠離現場惡劣環境,電子部件檢査、調整和參數設定就比較方便。但是,目前普遍使用的分體式電磁流量計使用壽命短,抗干擾能力弱,不智能化,測量不穩定,耗能高,精度低。
分體式電磁流量計,其組成包括:傳感器,所述的傳感器與智能表頭、襯里連接,所述的襯里與接地環連接。
分體式電磁流量計,所述的傳感器兩端用螺栓、螺母、墊圈、彈簧墊圈、絕緣襯套固定安裝在被測管道上,所述的被測管道之間、所述的傳感器與被測管道之間、傳感器與接地環之間用連接導線連接,所述的連接導線與測量接地導線連接。分體式電磁流量計,所述的接地環與所述的被測管道間墊有絕緣密封墊。
分體式電磁流量計的安裝方法,該方法包括如下步驟:
(1)傳感器應有良好的單獨接地線,接地電阻<10歐,在連接傳感器的管道內若涂有絕緣層或是非金屬管道時,傳感器兩側還應加裝接地環,接地環要裝在傳感器的兩端面上,接地環必須與工藝管道的法蘭絕緣,通過接地線與傳感器相連,接地環的材質應能耐介質的腐蝕;
(2)儀表兩側工藝管的法蘭應該用截面積為4mm2的銅導線繞過傳感器相連,使陰極保護電位與傳感器之間隔離,不要連接到傳感器上去
(3)法蘭連接螺栓必須與工藝管道的法蘭絕緣,用戶必須自備絕緣材料制造的襯套和墊圈;
(4)流體流向必須與傳感器表面上的流向箭頭保持一致。
其有益效果:
1、測量不受流體密度、粘度、溫度、壓力和電導率變化的影響,測量管內無阻礙流動部件,無壓損,直管段要求較低
2、系列公稱通徑DN15~DN3000。采用聚四氟乙烯或橡膠材質襯里和lC、IB、316L、Ti等電極材料的不同組合可適應不同介質的需要;
3、轉換器采用新穎勵磁方式,功耗低、零點穩定、***度高,流量范圍度可達1500:1轉換器可與傳感器組成一體型或分離型,采用16位高性能微處理器,2x16LCD顯示,參數設定方便,編程可靠,換器采用表面安裝技術(SMT),具有自檢和自診斷功能;
4、儀表結構簡單、可靠、無可動部件,工作壽命長;
5、無截流阻流部件,不存在壓力損失和流體堵塞現象,無機械慣性,響應快速,穩定性好,可應用于自動檢測、調節和程控系統,測量精度不受被測介質的種類及其溫度、粘度、密度、壓力等物理理參數的影響;
6、采用 EEPROM存貯器,測量運算數據存貯保護可靠安全,高清晰LCD背光顯示。
附圖說明:
附圖1是本發明的結構示意圖。

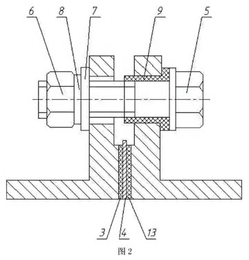
附圖2是本發明安裝示意圖。

具體實施方式:
實施例1
分體式電磁流量計,其組成包括:傳感器1,所述的傳感器與智能表頭2、襯里3連接,所述的襯里與接地環4連接。
實施例2
根據實施例1所述的分體式電磁流量計,所述的傳感器兩端用螺栓5、螺母6、墊圈7、彈簧墊圈8、絕緣襯套9固定安裝在被測管道10上,所述的被測管道之間、所述的傳感器與被測管道之間、傳感器與接地環之間用連接導線11連接,所述的連接導線與測量接地導線連12接。
實施例3
根據實施例1或2所述的分體式電磁流量計,所述的接地環與所述的被測管道間墊有絕緣密封墊13。
實施例4
分體式電磁流量計的安裝方法,該方法包括如下步驟:
(1)傳感器應有良好的單獨接地線,接地電阻<10Ω,在連接傳慼器的管道內若涂有絕緣層或是非金屬管道時,傳感器兩側還應加裝接地環,接地環要裝在傳感器的兩端面上,接地環須與工藝管道的法蘭絕緣,通過接地線與傳感器相連,接地環的材質應能耐介質的腐蝕;
(2)儀表兩側工藝管的法蘭應該用截面積為4mm2的銅導線繞過傳感器相連,使陰極保護電位與傳感器之間隔離,須要注意,不要連接到傳感器上去
(3)法蘭連接螺栓須與工藝管道的法蘭絕緣,用戶必須自備絕緣材料制造的襯套和墊圈;
(4)流體流向須與傳感器表面上的流向箭頭保持一致。
上一條:
分析電磁流量計易受到干擾的原因及排除方法
下一條:
煤漿流量測量中電磁流量計應用故障原因分析