久久久久激情I久草网免费I天天天综合网Iav东方在线I国产精品二区在线观看Iwww久久99I91精品色I夜又临在线观看

固定電話:

0517-86881563

手機熱線:

153-1230-7860

當前位置:首頁 >> 新聞動態
一種帶壓力測量的電磁流量計
一種帶壓力測量的電磁流量計結構及實施介紹
傳統電磁流量計僅僅測量管道內部導電液體的瞬時流量和累計流量,無法測量管道內部壓力,當管道內部壓力變化時,流體將受到壓力影響,流速及流量產生變化,因此,需要對管道內部進行壓力信號的測量,進行實時的監控,這樣才能測量的更加穩定可靠。
帶壓力測量的電磁流量計內容
本新型電磁流量計的目的是克服現有技術產品的缺陷,提供一種可以同時測量壓力和流量、測量準確的帶壓力測量的電磁流量計。
本新型是這樣實現的:一種帶壓力測量的電磁流量計,其特征在于:包括電磁流量計、壓力變送器、數據采集模塊,所述壓力變送器、電磁流量計的信號輸出端口分別通過線纜與數據采集模塊相連,所述數據采集模塊被封裝在密封箱內此密封箱為不銹鋼密封箱。
本新型的有益效果是:將電磁流量計,壓力變送器與數據采模塊相連,通過數據采集模塊統一進行采集及計算,不僅能夠**和可靠的測量流量和壓力數據,而且能夠同時顯示,不銹鋼箱體內密封性能好,可以有效的防水,大大方便了用戶的使用及讀數,還可以進行信號的輸出與數據采集。
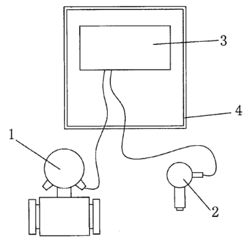
附圖為本新型結構示意圖。
其中:1、電磁流量計;2、壓力變送器;3、數據采集模塊:4、不銹鋼箱體。
具體實施方式
結合附圖對本實用新型的具體實施方式作進一步的詳細說明,以使本行的技術人員在閱讀后,能夠進一步地掌握和理解本實用新型的結構特征。根據附圖,本實用型包括分別與數據采集模塊3通過電纜相連的電磁流量計壓力變送器2。所述電磁流量計1上設有信號輸出端口與數據采集模塊3相連,所述壓力變送器2通過信號輸出端口與數據采集模塊3相連。所述數據采集模塊3被封裝在不銹鋼箱體4內。所述電磁流量計1與壓力變送器2通過電纜與不銹鋼箱體4體內數據采集模塊3固定連接。因此,數據采集模塊3的統一信號采集及處理,可以顯示流量及管道內部的壓力,使用方便可靠。

上一條:電磁流量計在無菌灌裝系統中的應用
下一條:電磁流量計與超聲波流量計的基本性能比較及選


客戶服務熱線
15312307860

聯系我們