久久久久激情I久草网免费I天天天综合网Iav东方在线I国产精品二区在线观看Iwww久久99I91精品色I夜又临在线观看

固定電話:

0517-86881563

手機熱線:

153-1230-7860

當前位置:首頁 >> 新聞動態
實用新型的一種電磁流量計監測系統的發明應用
 
本實用新型是一種電磁流量計監測系統,屬于檢測設備領域。
 
發明背景
現有技術中,電磁流量計是隨著電子技術的發展而迅速發展起來的基于法拉第電磁感應定理的用來測量導電性液體體積流量的儀表。它無可動部件,無阻礙被介質流動的節流部件,對被測流體的流動不產生附加壓力損失,而僅有這管段的沿程阻力;測量有導電性的介質的流量,而不受其溫度、勃度、密度、壓力等物理參數的影響;無機械慣性,反映靈敏,可測瞬時脈動流量;直線性好,測量準確度高,測量范圍寬,耐腐蝕性能強等等。因此在眾多的流量儀表中,電磁流量計成為發展*快的流量儀表之一,但是現有的電磁流量傳感器存在數據傳輸不及時的問題,所以需要一種電磁流量計監測系統來解決上述問題。
 
發明內容
針對現有技術存在的不足,本實用新型目的是提供一種電磁流量計監測系統,以解決上述背景技術中提出的問題,本實用新型使用方便,便于操作,穩定性好,可靠性高。
 
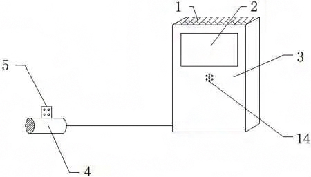
本實用新型的結構示意圖
為了實現上述目的,本實用新型是通過如下的技術方案來實現:一種電磁流量計監測系統,包括監測系統結構部分以及檢測系統,所述監測系統結構部分由太陽能電池板、觸摸顯示屏、控制柜、電磁流量傳感器、固定板以及通孔組成,所述固定板裝配在電磁流量傳感器的上端,所述控制柜的上端面上裝配有太陽能電池板,所述控制柜的前側端面上固定有觸摸顯示屏,所述觸摸顯示屏的下端開設有通孔,所述檢測系統由信號放大器、濾波器、單片機、存儲器、繼電器、無線通信模塊、揚聲器以及蓄電池組成,所述信號放大器、濾波器、單片機、存儲器、繼電器、無線通信模塊、揚聲器以及蓄電池位于控制柜的內部,所述電磁流量傳感器與信號放大器單向電性連接,所述信號放大器與濾波器單向電性連接,所述濾波器與單片機單向電性連接,所述單片機與觸摸顯示屏雙向電性連接,所述單片機與存儲器雙向電性連接,所述單片機與無線通信模塊雙向電性連接,所述單片機與繼電器單向電性連接,所述繼電器與揚聲器單向電性連接,所述太陽能電池板與蓄電池單向電性連接。
 
進一步所述固定板上開設有便于安裝的螺孔。開設在控制柜上的通孔呈環形進行排列,通孔的直徑為1mm。分布在控制柜上端的太陽能電池板與控制柜之間通過螺栓進行固定。所述無線通信模塊為4G通信模塊。所述揚聲器安裝在控制柜的內部且具體安裝在開設通孔的位置。
 
本實用新型的有益效果:本實用新型的一種電磁流量計監測系統,通過添加固定板來實現對電磁流量傳感器的固定,該設計解決了傳統電磁流量傳感器安裝時費時費力的問題,而觸摸顯示屏的設計則將操作按鈕與顯示屏的功能結合到一起,進而達到了一體化設計的要求。另外存儲器的設計則實現對電磁流量傳感器檢測數據的保存,進而便于工作人員以后進行數據的查找。而無線通信模塊的設計則實現了現代社會物聯網發展的需要,進而便于工作人員遠距離的進行數據的監測,該設計減少了工廠的人力成本投入,本實用新型電磁流量計監測系統使用方便,便于操作,監測效果好,可靠性高。

上一條:介質電導率變化對電磁流量計測量的影響
下一條:污水型電磁流量計在測量時如何正確的排除故障


客戶服務熱線
15312307860

聯系我們