久久久久激情I久草网免费I天天天综合网Iav东方在线I国产精品二区在线观看Iwww久久99I91精品色I夜又临在线观看

固定電話:

0517-86881563

手機熱線:

153-1230-7860

當前位置:首頁 >> 新聞動態
一種便于安裝的電磁流量計
技術領域
本實用新型涉及電磁流量計技術領域,具體涉及一種便于安裝的電磁流量計。
 
背景技術
電磁流量計是20世紀50-60年代隨著電子技術的發展而迅速發展起來的新型流量測量儀表。電磁流量計是應用電磁感應原理,根據導電流體通過外加磁場時感生的電動勢來測量導電流體流量的一種儀器。在進行安裝連接時,一般采用法蘭盤來進行連接固定,但是,由于電磁流量計的兩端均連接管道,在連接時,很多時候都是懸空進行安裝,這時需要輔助裝置托舉進行安裝,且在安裝過程中,很容易因為微小移動而造成連接不緊密,出現泄露。
 
發明內容
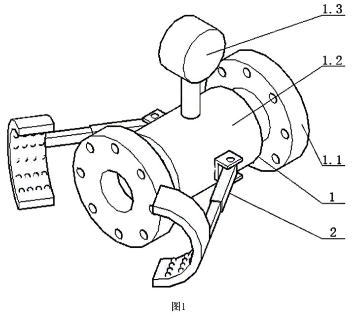
鑒于現有技術中的上述缺陷或不足,期望提供一種便于安裝的電磁流量計。根據本申請實施例提供的技術方案,一種便于安裝的電磁流量計,包括電磁流量計主體,所述電磁流量計主體包括法蘭盤、測量導管和轉換器,所述測量導管為水平橫向放置管道,所述轉換器固定在所述測量導管的上端面,兩個所述法蘭盤分別位于所述測量導管的左端面和右端面,還包括定位裝置,兩個所述定位裝置分別固定在所述測量導管的前端面和后端面。
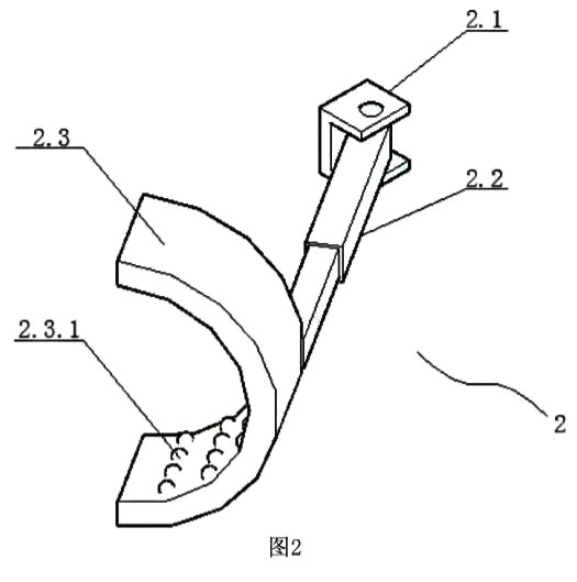
所述定位裝置包括U型連接組件、可轉動伸縮桿、夾持弧形件,所述U型連接組件固定在所述測量導管上,所述可轉動伸縮桿為長方形伸縮桿,所述可轉動伸縮桿的右端部位通過銷軸與所述U型連接組件鉸接,所述夾持弧形件固定在所述可轉動伸縮桿的左端面,所述夾持弧形件上設有滾珠,若干個所述滾珠位于所述夾持弧形件的內側表面上,所述滾珠可相對所述夾持弧形件滾動。
本實用新型中,所述可轉動伸縮桿與所述測量導管水平中心線之間的距離大于所述法蘭盤外側表面與所述測量導管水平中心線之間的距離。
本實用新型中,所述U型連接組件的橫向截面為U型形狀。
本實用新型中,所述可轉動伸縮桿可水平方向左右轉動。
本實用新型中,兩個所述定位裝置均固定在所述電磁流量計主體左端面與右端面之間的中間部位。
本實用新型中,所述夾持弧形件為塑膠材質。
綜上所述,本申請的有益效果:本申請裝置在電磁流量計上設置定位裝置,在安裝時,采用定位裝置,方便電磁流量計的懸空安裝,提高工作效率,降低失誤率。
 
附圖說明
通過閱讀參照以下附圖所作的對非限制性實施例所作的詳細描述,本申請的其它特征、目的和優點將會變得更明顯:
圖1為本實用新型整體裝置的立體結構示意圖;
圖2為本實用新型定位裝置的立體結構示意圖。
圖中標號:電磁流量計主體-1;法蘭盤-1.1;測量導管-1.2;轉換器-1.3;定位裝置-2;U型連接組件-2.1;可轉動伸縮桿-2.2;夾持弧形件-2.3;滾珠-2.3.1。
 
具體實施方式
下面結合附圖和實施例對本申請作進一步的詳細說明。可以理解的是,此處所描述的具體實施例僅僅用于解釋相關發明,而非對該發明的限定。另外還需要說明的是,為了便于描述,附圖中僅示出了與發明相關的部分。
需要說明的是,在不沖突的情況下,本申請中的實施例及實施例中的特征可以相互組合。下面將參考附圖并結合實施例來詳細說明本申請。如圖1所示,一種便于安裝的電磁流量計,包括電磁流量計主體1,所述電磁流量計主體1包括法蘭盤1.1、測量導管1.2和轉換器1.3,所述測量導管1.2為水平橫向放置管道,所述轉換器1.3固定在所述測量導管1.2的上端面,兩個所述法蘭盤1.1分別位于所述測量導管1.2的左端面和右端面,還包括定位裝置2,兩個所述定位裝置2分別固定在所述測量導管1.2的前端面和后端面。所述定位裝置2主要用于所述電磁流量計主體1安裝時使用。
如圖2所示,所述定位裝置2包括U型連接組件2.1、可轉動伸縮桿2.2、夾持弧形件2.3,所述U型連接組件2.1固定在所述測量導管1.2上,所述可轉動伸縮桿2.2為長方形伸縮桿,所述可轉動伸縮桿2.2的右端部位通過銷軸與所述U型連接組件2.1鉸接,所述夾持弧形件2.3固定在所述可轉動伸縮桿2.2的左端面,所述夾持弧形件2.3上設有滾珠2.3.1,若干個所述滾珠2.3.1位于所述夾持弧形件2.3的內側表面上,所述滾珠2.3.1可相對所述夾持弧形件2.3滾動。
當所述電磁流量計主體1上的所述定位裝置2不使用時,所述可轉動伸縮桿2.3縮短,使得所述夾持弧形件2.3卡扣在所述測量導管1.2的外側表面上,這樣不影響所述電磁流量計主體1的存放。當所述電磁流量計主體1的左端部位需要安裝時,將所述可轉動伸縮桿2.3轉動至與所述測量導管1.2具有一定角度,然后伸長所述可轉動伸縮桿2.3,讓所述夾持弧形件2.3卡扣在需要安裝的管道上,然后微移所述電磁流量計主體1,使得所述法蘭盤
1.1對準,并安裝。
所述電磁流量計主體1微移時,可實現與連接管道之間距離長短的移動。由于所述滾珠2.3.1的存在,所以所述電磁流量計主體1可相對連接管道做轉動,即更加利于所述法蘭盤1.1上法蘭孔的對準。
以上描述僅為本申請的較佳實施例以及對所運用技術原理等方案的說明。同時,本申請中所涉及的發明范圍,并不限于上述技術特征的特定組合而成的技術方案,同時也應涵蓋在不脫離所述發明構思的情況下,由上述技術特征或其等同特征進行任意組合而形成的其它技術方案。例如上述特征與本申請中公開的(但不限于)具有類似功能的技術特征進行互相替換而形成的技術方案。
 

上一條:遠傳型磁翻板液位計特點及結構原理
下一條:威力巴流量計運行試驗及其應用


客戶服務熱線
15312307860

聯系我們