久久久久激情I久草网免费I天天天综合网Iav东方在线I国产精品二区在线观看Iwww久久99I91精品色I夜又临在线观看

固定電話:

0517-86881563

手機熱線:

153-1230-7860

當前位置:首頁 >> 新聞動態
一種石油油氣集輸用單井流量計量裝置
技術領域
本實用新型涉及一種流量計,特別涉及一種油氣集輸用單井流量計量裝置。
 
背景技術
石油在運輸過程中,需要對其進行流量測定,在大型低揚程泵站的現場性能測試中,油泵流量的測試是重點和難點,具有漸變、收縮或擴散流道的大型低揚程泵站,往往無等徑直管段,使流量的測試工作變得困難,且精度難以保證。
 
發明內容
本實用新型的目的就是針對現有技術存在的上述缺陷,提供一種油氣集輸用單井流量計量裝置。
其技術方案是:包括差壓變送器、三通閥、取壓件、鎖緊螺母、傳感器、管道,管道的上部設有開口,傳感器的一端垂直插入管道的內部,傳感器的另一端連接取壓件,所述的取壓件通過鎖緊螺母固定在管道的上部開口處,取壓件連接三通閥,三通閥的端部連接差壓變送器,所述的傳感器包括本體,本體呈錐形結構,本體的前端部為圓弧形錐頭,本體的末端部為圓弧形錐尾,本體的前端的圓弧形錐頭為迎流方向端,所述的圓弧形錐頭上設有取壓孔,本體的兩側設有取壓孔。
所述的本體的內部為空心結構,本體的內部設有弧形內支架。
本實用新型的有益效果是:結構簡單,測試準確,傳感器形狀如子彈頭,符合流體動力學原理,能產生精確、穩定的差壓信號,強度高、不滲漏、防堵塞,具有測量精度高、可靠性、穩定性好等優點,可測量氣體、液體、蒸汽和腐蝕性介質等多種流體,適應各種尺寸的管道,應用于高溫高壓的場合。
 
附圖說明
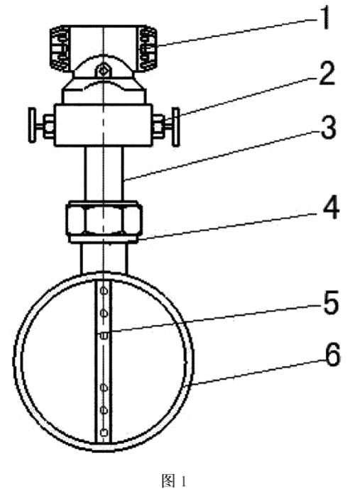
附圖1是本實用新型的結構示意圖;
附圖2是傳感器的橫剖面結構示意圖;
上圖中:差壓變送器1、三通閥2、取壓件3、鎖緊螺母4、傳感器5、管道6、本體5.1、圓弧形錐頭5.2、圓弧形錐尾5.3、弧形內支架5.4、取壓孔5.5。
 
具體實施方式
結合附圖1-2,對本實用新型作進一步的描述:
本實用新型包括差壓變送器1、三通閥2、取壓件3、鎖緊螺母4、傳感器5、管道6,管道6的上部設有開口,傳感器5的一端垂直插入管道6的內部,傳感器5的另一端連接取壓件3,所述的取壓件3通過鎖緊螺母4固定在管道6的上部開口處,取壓件3連接三通閥2,三通閥2的端部連接差壓變送器1,所述的傳感器5包括本體5.1,本體5.1呈錐形結構,本體5.1的前端部為圓弧形錐頭5.2,本體5.1的末端部為圓弧形錐尾5.3,本體5.1的前端的圓弧形錐頭5.2為迎流方向端,所述的圓弧形錐頭5.2上設有取壓孔5.5,本體5.1的兩側設有取壓孔5.5。
所述的本體5.1的內部為空心結構,本體5.1的內部設有弧形內支架5.4。
工作原理:在管道中插入傳感器,當流體流過傳感器時,在其前部圓弧形錐頭5.2為迎流方向端產生一個高壓分布區,在其后部產生一個低壓分布區。傳感器在高、低壓區有按一定規則排列的多對取壓孔,圓弧形錐頭5.2上設有取壓孔5.5,本體5.1的兩側設有取壓孔5.5,分別測量流體的全壓力(包括靜壓力和平均速度壓力)Pl和靜壓力P2。將P1和P2分別引入差壓變送器,測量出差壓△P=P1-P,△P映流體平均速度的大小,以此可推算出流體的流量。
本實用新型的有益效果是:結構簡單,測試準確,傳感器形狀如子彈頭,符合流體動力學原理,能產生精確、穩定的差壓信號,強度高、不滲漏、防堵塞,具有測量精度高、可靠性、穩定性好等優點,可測量氣體、液體、蒸汽和腐蝕性介質等多種流體,適應各種尺寸的管道,應用王高溫高壓的場合。

上一條:超聲波流量計在煤氣計量中的應用
下一條:V錐、多孔孔板、畢托巴流量計節能優化分析


客戶服務熱線
15312307860

聯系我們