久久久久激情I久草网免费I天天天综合网Iav东方在线I国产精品二区在线观看Iwww久久99I91精品色I夜又临在线观看

固定電話:

0517-86881563

手機熱線:

153-1230-7860

當前位置:首頁 >> 新聞動態
保溫型塑料磁翻板液位計
技術領域
本實用新型涉及一種保溫型塑料磁翻板液位計。

背景技術
磁翻板液位計是根據國內外同類產品加以消化提高且按照原化工部頒布的磁性液位計標準HG/T21584-95研制生產的產品。該儀表可用于各種塔、罐、槽、球型容器和鍋爐等設備的介質液位檢測。
磁性浮子液位計,也可稱為磁翻板液位計,根據浮力原理和磁性耦合作用研制而成。當被測容器中的液位升降時,液位計本體管中的磁性浮子也隨之升降,浮子內的**磁鋼通過磁耦合傳遞到磁翻柱指示器,驅動紅、白翻柱翻轉180°,當液位上升時翻柱由白色轉變為紅色,當液位下降時翻柱由紅色轉變為白色,指示器的紅白交界處為容器內部液位的實際高度,從而實現液位清晰的指示。
該儀表可用于各種塔、罐、槽、球型容器和鍋爐等設備的介質液位檢測。該系列的液位計可以做到高密封,防泄漏和適用于高溫、高壓、耐腐蝕的場合。它彌補了玻璃板(管)液位計指示清晰度差、易破裂等缺陷,且全過程測量無盲區,顯示清晰、測量范圍大。
 
實用新型內容
針對本領域的技術發展的需要,本實用新型提出了一種保溫型塑料磁翻板液位計,包括液位計主體,所述液位計主體的內部具有一中空管道:翻板指示器,設置于所述液位計主體的上部的外表面上:標尺,位于所述翻板指示器的下方;以及磁浮子,設置于所述液位計主體的中空管道內。
根據本實用新型的一個優選實施例,在上述的保溫型塑料磁翻板液位計中,所述標尺上標示有高度的刻度。
根據本實用新型的一個優選實施例,在上述的保溫型塑料磁翻板液位計中,所述液位計主體的底部設置有一排污閥。
根據本實用新型的一個優選實施例,在上述的保溫型塑料磁翻板液位計中,還包括:上連接法蘭,通過一**管道連接到所述液位計主體的上部。
根據本實用新型的一個優選實施例,在上述的保溫型塑料磁翻板液位計中,還包括:下連接法蘭,通過一第二管道連接到所述液位計主體的下部。
根據本實用新型的一個優選實施例,在上述的保溫型塑料磁翻板液位計中,所述中空管道內充填紅色液體。
本實用新型具有高靈敏度、寬視窗等特點,能實現各種液體以及高溫、高壓、腐蝕性和易燃易爆介質液位的連續測量。此外,本實用新型還具有顯示器以紅色指示液位,直觀、醒目:測量范圍大、全過程測量無盲區。顯示器與被測介質完全隔離,安全、可靠等等優點。
應當理解,本實用新型以上的一般性描述和以下的詳細描述都是示例性和說明性的,并且旨在為如權利要求所述的本實用新型提供進一步的解釋。
 
附圖說明
附圖主要是用于提供對本實用新型進一步的理解。附圖示出了本實用新型的實施例,并與本說明書一起起到解釋本實用新型原理的作用。附圖中:圖1示意性地示出了根據本實用新型的一個優選實施例的保溫型塑料磁翻板液位計的示意圖。
 
具體實施方式
以下結合附圖詳細描述本實用新型的技術方案。其中,相同的標號用于表示相同的元素,且以下描述中的具體技術術語并不構成對本實用新型的技術方案本身的實質性限制。實際上,本領域的技術人員所熟知的各種變化都是允許的。圖1示意性地示出了根據本實用新型的一個優選實施例的保溫型塑料磁翻板液位計的示意圖。
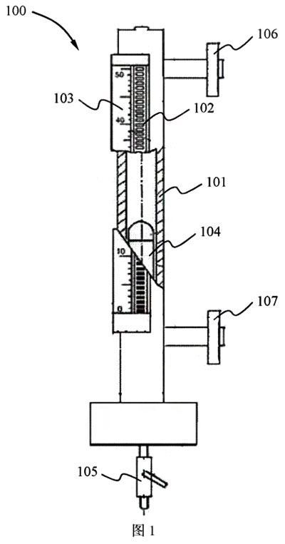
如圖1所示,本實用新型的保溫型塑料磁翻板液位計100主要包括:液位計主體101、翻板指示器102、標尺103、磁浮子104。其中,液位計主體101的內部具有一中空管道,中空管道內充填紅色液體(未圖示)。翻板指示器102設置于所述液位計主體101的上部的外表面上。標尺103位于所述翻板指示器102的下方,標尺103上標示有高度的刻度,以便于進行讀數操作。磁浮子104則設置于所述液位計主體101的中空管道內。
此外,如圖1所示,根據本實用新型的一個優選實施例,在上述的保溫型塑料磁翻板液位計100中,所述液位計主體101的底部設置有一排污閥105。該排污閥105可用于排干所述中空管道內的污濁的紅色液體,以便進行換液。
根據本實用新型的一個優選實施例,在上述的保溫型塑料磁翻板液位計100中,還包括:通過一**管道連接到所述液位計主體101的上部的上連接法蘭106以及通過一第二管道連接到所述液位計主體101的下部的下連接法蘭107。
此外,本實用新型的保溫型塑料磁翻板液位計100的中空管道的材質為塑料。塑料液位計較耐腐蝕,但耐低溫性差,在-20℃以下就會脆化。我國大部分地區室外*低溫度都在-20℃以下,所以開發保溫型塑料液位計很有市場前景。
本實用新型具有高靈敏度、寬視窗等特點,能實現各種液體以及高溫、高壓、腐蝕性和易燃易爆介質液位的連續測量。此外,本實用新型還具有顯示器以紅色指示液位,直觀、醒目;測量范圍大、全過程測量無盲區。顯示器與被測介質完全隔離,安全、可靠等等優點。
上述實施例是提供給本領域普通技術人員來實現或使用本實用新型的,本領域普通技術人員可在不脫離本實用新型的發明思想的情況下,對上述實施例做出種種修改或變化,因而本實用新型的保護范圍并不被上述實施例所限,而應該是符合權利要求書提到的創新性特征的zui大范圍。
 

上一條:天然氣遠程計量系統在計量間的應用及問題探討
下一條:如何正確合適的安裝超聲波流量計


客戶服務熱線
15312307860

聯系我們