久久久久激情I久草网免费I天天天综合网Iav东方在线I国产精品二区在线观看Iwww久久99I91精品色I夜又临在线观看

固定電話:

0517-86881563

手機熱線:

153-1230-7860

當前位置:首頁 >> 新聞動態
如何提高液位測量的準確度
引言
熱控液位測量作為熱控自動控制中的重要信號,在電廠的自動控制中,有些液位信號被作為三沖量控制的前饋信號,有些液位信號被作為邏輯控制的重要信號,作為機組跳閘、危機停機的重要檢測信號手段,在電廠自動控制中發揮極其重要的作用,下面以電廠中液位的測量為例說明如何提高液位測量的準確度,如何提高液位測量的準確度成為在安裝中的重要課題。
 
1.安裝概述
在火電安裝中,液位信號一般安裝在凝汽器熱井、除氧器水箱、高壓加熱器、低壓加熱器、汽包(汽水分離器)等諸多部位,其信號是作為其設備及機組安全運行的及其重要的參數,如果該參數超過其允許值,可能造成機組跳閘的危害。
在安裝過程中,根據測量準確度的要求不同,可選用單室平衡容器或雙室平衡容器。
(1)在選用單室平衡容器時,差壓計的正壓頭由平衡
容器的恒定水柱維持不變,負壓頭隨容器的液位變化而變化,誤差由于以下原因造成:
①在運行過程中,當容器液位降低時,由于差壓增大,差壓儀表表的膜片或膜盒要從正壓側向負壓側移動,從而使平衡容器正壓側水柱暫時降低。
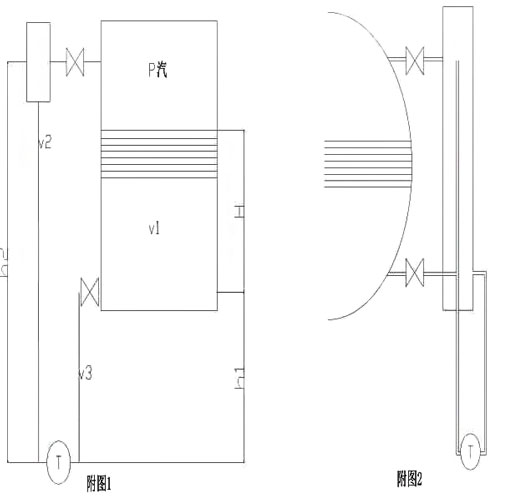
②在容器中,由于受到容器內的飽和水、蒸汽與容器內的溫度不同,重度也不同,造成儀表讀數誤差。在運行過程中,如果容器內為蒸汽,如汽包液位、高加液位等,隨著機組運行狀況的變化,液位波動比較大,如何在同一容器上的幾臺變送器讀數一致,且正確的反應液位H的情況,如圖:
P1一正壓室壓力;P2一負壓室壓力;P汽一容器內汽相壓力;H一被測量液位高度;h1一zui低液位到變送器高度;h2一zui高液位到變送器高度;V1一被測液位重度;V2一負壓側液位重度:V3一正壓側液位重度:
T一液位變送器。
正負壓得壓力分別為:
P1=h1v3+Hv1+P汽
P2=h1v2+P汽
正負壓之間的差壓為:
⊿P=P1-P2=h1v3+Hv1+P汽-h1v2-P汽=Hv1+h1v3-h1v2
從上式可以看出v1=v3=v2時,可以減少液位誤差。
(2)在選用雙室平衡容器時,由于平衡容器的溫度遠遠低于被測容器的溫度,造成負壓管的水面比容器的水面低造成測量誤差
 
2.減少液位測量的誤差的因素
(1)消除安裝因素,在安裝過程中,要充分結合環境因素,使正壓側和負壓側的環境基本一致,消除上述公式中v3、v2的重度影響因素,使之v3=v2,同時,在安裝過程中充分保證同一容器上的平衡容器安裝正壓側液位標高一致(即保證h2在運行),在安裝中,使之閥門與管道和平衡容器之間的距離一致,如果是蒸汽,要充分保證平衡容器前管道安裝內徑符合或大于安裝規范,使之蒸汽在容器中波動后快速冷卻,同時儀表管路的安裝環境一致也是消除液位誤差的因素之一。
在真空系統液位測量中,如凝汽器熱井液位,充分保證正壓側平衡容器的液位是正確測量的重要條件,因為在熱井液位的測量過程中保證了v1=v2=v3,所以在安裝過程中平衡容器與容器的管道內徑不要太大,必要時在保證平衡容器一致的情況下,可以增加彎頭,防止平衡容器內的液位被真空破壞,充分保證測量液位的準確度。
(2)采用溫度補償,在容器中,容器內的飽和水、蒸汽與容器內的溫度不同,重度也不同,造成儀表讀數誤差,如果v1=v2=v3,儀表的讀數和容器內的液位是一致的,完全消除讀數誤差,由于計算機水平的提高,在壓力計算過程中,克服掉容器內外的溫度差,將使儀表的信號更加準確,為此,可以在容器上和正負壓室各安裝一支溫度計,在計算機邏輯運算中進行溫度補償,使之重度差基本消除,儀表的信號更為**。
 
3.結束語
液位信號作為電站中自動控制的重要參數,提高液位測量的準確度對電站的安全、經濟運行有著極其重要的作用,因此,如何提高液位測量的準確度在安裝過程中顯得尤為重要,安裝過程中對液位測量設備的充分了解并采取一定的措施,提高液位測量的準確度,保證機組安全、穩定、長周期高效運行。

上一條:流量計量在社會生產中的效益
下一條:天然氣遠程計量系統在計量間的應用及問題探討


客戶服務熱線
15312307860

聯系我們