久久久久激情I久草网免费I天天天综合网Iav东方在线I国产精品二区在线观看Iwww久久99I91精品色I夜又临在线观看

固定電話:

0517-86881563

手機熱線:

153-1230-7860

當前位置:首頁 >> 新聞動態
一種顯示型壓力變送器結構特點
技術領域
本實用新型屬于壓力變送器技術領域,具體涉及一種顯示型壓力變送器
 
背景技術
隨著社會的發展,壓力變送器也得到了長足的發展,現有技術的壓力變送器通常由殼體、電路板、壓力傳感芯片組成,其主要安裝在工業現場,其雖然可以實現壓力變送,然而對于在工業現場的巡視人員來說,其壓力顯示并不直觀,存在使用安全隱患。
 
發明內容
本實用新型的目的提供一種結構簡單,使用穩定性好且顯示較為直觀的顯示型壓力變送器。
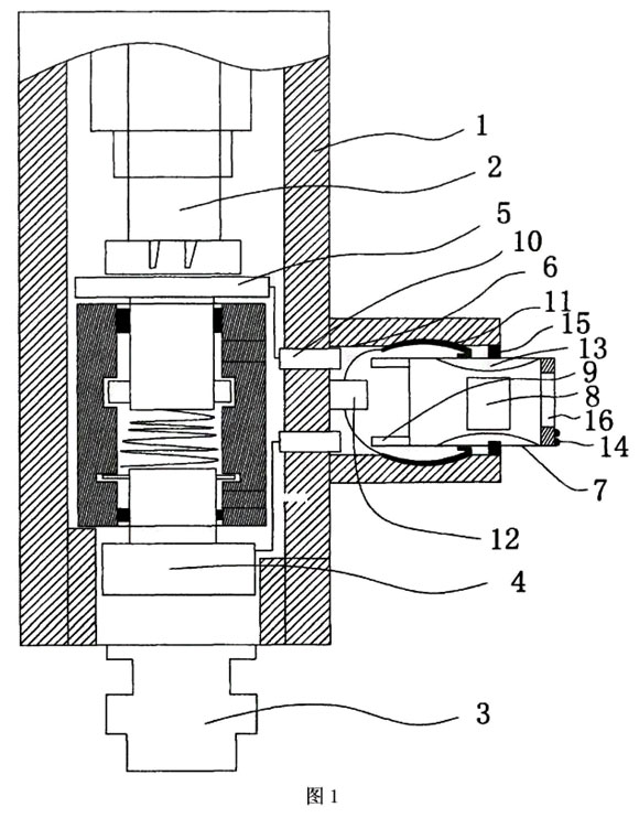
實現本實用新型目的的技術方案是一種顯示型壓力變送器,包括殼體,設置在所述殼體上的連接件、引壓接頭,在所述殼體內設有傳感器芯體和電路板,電路板與所述連接件電連接,傳感器芯體與所述引壓接頭相連接,所述傳感器芯體與電路板相連接,在所述殼體上設有插槽,還設有與所述插槽相配合的顯示腔插接塊,在所述顯示腔插接塊內設有顯示屏,在所述顯示腔插接塊上設有插接端子,在所述插槽內設有與所述插接端子相配合的插接座,所述插接座分別與電路板和傳感器芯體相連接,在所述插槽的內側壁上設有卡位鉤,在所述插槽的底部設有控制所述卡位鉤卡位固定所述顯示腔插接塊的控制彈片,在所述顯示腔插接塊上設有與所述卡位鉤相配合的卡位槽。
 
在所述顯示腔插接塊上設有參數設定按鍵,所述參數設定按鍵設置在所述顯示屏的下方。
所述顯示腔插接塊與所述插槽之間設有密封圈層。
所述顯示腔插接塊上設有觀插窗,所述觀察窗與所述顯示屏相配合。
本實用新型具有積極的效果:本實用新型的結構簡單,在殼體上設有插槽,與插槽相配合的顯示腔插接塊,在使用中顯示較為直觀,方便一線巡視人員觀察操作,一定程度上提高了使用安全性能,其使用穩定性好,適用性較廣,并且其在顯示腔插接塊上設有參數設定按鍵,方便現場檢修或校正參數,實用性好。
 
附圖說明
為了使本實用新型的內容更容易被清楚的理解,下面根據具體實施例并結合附圖,對本實用新型作進一步詳細的說明,其中:
圖1為本實用新型的結構示意圖。
 
具體實施方式
(實施例1)
圖1顯示了本實用新型的一種具體實施方式,其中圖1為本實用新型的結構示意圖。
見圖1,一種顯示型壓力變送器,包括殼體1,設置在所述殼體1上的連接件2、引壓接頭3,在所述殼體1內設有傳感器芯體4和電路板5,電路板5與所述連接件2電連接,傳感器芯體4與所述引壓接頭3相連接,所述傳感器芯體4與電路板5相連接,在所述殼體1上設有插槽6,還設有與所述插槽6相配合的顯示腔插接塊7,在所述顯示腔插接塊7內設有顯示屏8,在所述顯示腔插接塊7上設有插接端子9,在所述插槽6內設有與所述插接端子9相配合的插接座10,所述插接座10分別與電路板5和傳感器芯體4相連接,在所述插槽6的內側壁上設有卡位鉤11,在所述插槽6的底部設有控制所述卡位鉤11卡位固定所述顯示腔插接塊7的控制彈片12,在所述顯示腔插接塊7上設有與所述卡位鉤11相配合的卡位槽13。
在所述顯示腔插接塊7上設有參數設定按鍵14,所述參數設定按鍵14設置在所述顯示屏8的下方。
所述顯示腔插接塊7與所述插槽6之間設有密封圈層15。
所述顯示腔插接塊7上設有觀插窗16,所述觀察窗16與所述顯示屏8相配合。
顯然,本實用新型的上述實施例僅僅是為清楚地說明本實用新型所作的舉例,而并非是對本實用新型的實施方式的限定。對于所屬領域的普通技術人員來說,在上述說明的基礎上還可以做出其它不同形式的變化或變動。這里無需也無法對所有的實施方式予以窮舉。而這些屬于本實用新型的實質精神所引伸出的顯而易見的變化或變動仍屬于本實用新型的保護范圍。
 

上一條:電磁污水流量計的特點和安裝要求
下一條:淺談天然氣流量儀表的選型


客戶服務熱線
15312307860

聯系我們