久久久久激情I久草网免费I天天天综合网Iav东方在线I国产精品二区在线观看Iwww久久99I91精品色I夜又临在线观看
固定電話:
0517-86881563
手機熱線:
153-1230-7860
首頁
關于我們
產品博覽
新聞動態
典型案例
行業新聞
聯系我們
當前位置:
首頁
>>
新聞動態
流量儀表系列
電磁流量計
渦街流量計
渦輪流量計
超聲波流量計
孔板流量計
轉子流量計
質量流量計
旋進旋渦流量計
巴類流量計
液體流量計
油流量計
酸流量計
氣體流量計
其它流量計
物位儀表系列
壓力變送器
差壓變送器
液位變送器
溫度變送器
變送器儀表系列
壓力變送器
差壓變送器
液位變送器
溫度變送器
高壓電磁流量計電極結垢的解決方案
在測量污水、漿液等介質時,電磁流量計的襯里內壁以及電極表面容易產生結垢現象,由于結垢部分的電導率與測量介質不一致,產生結垢后,如果不及時清理,輕則給電磁流量計的測量帶來誤差,重則導致電磁流量計的信號短路或斷路,導致儀表無法正常工作。對于易結垢場合使用的電磁流量計,目前普遍采用刮刀式電極的方法解決,然而刮刀式電極也有其明顯的缺點一對安裝環境要求較高、需要定期維護、不能用于高壓管道等。本文通過對測量導管的結構以及測量電極的形狀做改進設計,極大地延長了在高壓等極端場合條件下電磁流量計的無維護使用壽命。使此類極端工況的流量測量得到較為理想的解決。
本次研究涉及到流量測量技術相關領域,包括有電磁流量計以及電極的阻垢結構,該結構中的電極主要是與流體介質之間進行接觸的安裝部分以及液體接觸部分,而在液體的接觸部位軸線位置處,其中心位置具有同軸設置的凸起部分,此凸起部分為導電體,本次所設計的電磁流量計其電極表面具有不易結垢以及無需經常進行清洗的特點。
1.傳統
電磁流量計
的清理方式
電磁流量計的工作原理決定了電磁流量計工作時測量電極必須能完成測量介質的電動勢檢測若測量的介質容易結垢,當測量電極完全被結垢覆蓋時,如果結垢部分是絕緣體,電磁流量計電極將無法檢測到感應信號,如果結垢部分導電率過高感應信號將被結垢層短路。
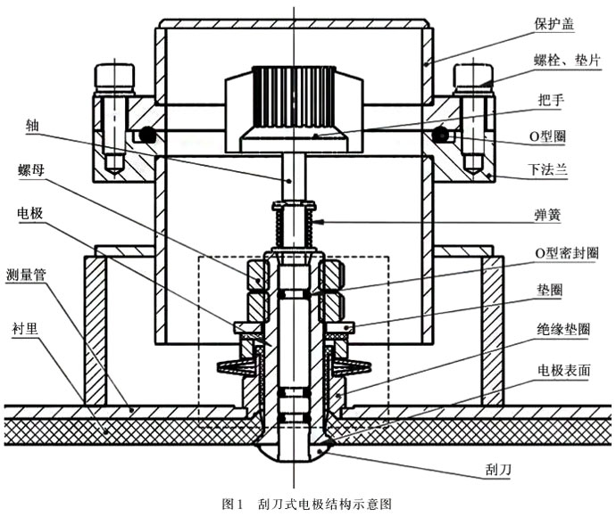
為了解決電磁流量計介質結垢的問題,目前傳統做法都是采用刮刀式機械清理的方法來解決刮刀式電極的結構示意圖如圖1。
從刮刀式電極的結構示意圖可以看出,副刀式電極的軸是通過“O”型圏軸密封的方式密封的。通過人工旋轉軸的方式帶動刮刀,實現電極表面結垢
的清理。
采用刮刀式電極清理結垢的方法,缺點主要有如下幾點:
(1)需要取下儀表外殼上的密封蓋才能操作這就要求儀表必須安裝在干燥且清潔的環境中,不然容易破壞儀表的絕緣。
(2)需要人工定期清理,并且對清理的人員有定的**要求。
(3)由于旋轉軸是通過“O”型圈軸密封的方密封的,對于溝槽等密封部分的尺寸及表面光潔度要求較高,另外由于軸密封的限制,注定了刮刀式電極不能用于壓力大于10MPa以上的場合。
從以上幾點可以明顯看出,采用刮刀式電極的方式解決易結垢介質的測量存在很大的局限性。無法滿足安裝環境較差(埋土、淹水)以及耐壓等級高于10Mpa(“O”型圈軸密封限制)的場合的除垢要求。
2.實用新型
電磁流量計
本次所研究的新型電磁流量計,其設計特點是具備較好的電極阻垢結構,之前所使用的傳統電磁流量計電極主要安裝在測量通道當中,當該結構應用在容易結垢的介質中時,電極可能會被結垢所覆蓋,由于介質結構本身具有絕緣性,從而使得電極準以對被測介質的電位進行正常檢測,進而使得電磁流量計的儀表也難以正常使用,傳統電磁流量計的對電極結垢問題的解決方式為每隔一段時間完成一次儀器的拆卸,采用手動清洗或者是刮刀式電極機械清洗的方式進行解決,但是傳統電磁流量計一般都具有易結垢、人工干預較多以及清理周期相對較短的問題。
2.1技術方案
2.1.1改變電極形狀
通過改變電磁流量計電極的形狀,可使電極表面不易結垢。由于測量液體黏性的存在,流體在一定流速范圍內,在管道中的流速成軸對稱分布:在沿管軸線方向取一截面,截面內的流速分布是以管軸線為對稱軸的拋物線,如圖2所示。
由圖2所示,很容易得出,越是靠近管道內壁的地方,流體流速越低,而流體流速越低,越是容易產生結垢現象。安裝在電磁流量計管道內壁的電極正是貼在管道內壁上,比較容易形成結垢現象。為了解決電極表面容易結垢的問題,現對電極表面的形狀做一定的改進,電極改進前后的示意圖分別如圖3所示。
具有阻垢結構的電極主要包括了和流體介質之間進行接觸的安裝部分和液體接觸部位,在液體接觸部位的中心位置具有同一軸線的凸起部,而凸起部為導電體。根據上述的技術方案可以了解到,眾質叢起部位流過卮凸起的部位對所流動的介質會進行分割,同時在液體接觸部位以及凸起部位的連接處會產生一定的擾動作用,所產生的擾動作用會將液體接觸部位表面產生的結垢物帶走,使得液體接觸部位以及凸起部位不會產生污垢的積聚。由于凸起部位主要是在液體接觸部位設置,所以凸起部位與測量通道中的中心位置具有更近的距離而中心位置所受到的通道內壁黏著力的影響相對較小,因此使得其流速相對較快,而凸起部位由于不會被污垢所覆蓋,所以采用該技術方案可以減少凸起部位以及液體接觸部位的污垢,不需要進行經常清理。上述技術方案中將凸起部外壁改為圓滑曲面,使得污垢不易在其表面進行附著,在介質流動沖擊下更容易被帶走。
2.1.2測量管道縮頸處理
當介質流體從變徑段之外經過變徑段進入測量通道時,由于變徑段為朝向測量通道的收口結構,測量通道的內徑小于變徑段之外的管道內徑使得介質流體在測量通道中的流速增快,在此條件下,位于測量通道內的液體接觸部位和凸起部表面更不容易結垢。
通過采用上述技術方案,該電磁流量計具有較好的電極阻垢效果,無需經常清理電極液體接觸部和凸起部的污垢,減少人工干預,提高了經濟效益。
2.2實例說明
根據上述的技術方案,可以就其凸起部位或者其他部位進行進一步的配置,以便于減少電磁流量計的結垢能力,其進一步的配置方式包括有凸起部的外壁是較為圓滑的曲面,起部的截為圓形,凸起部外徑由液體接觸部位向其遠離的一側逐漸變小,遠離凸起部的一端為球面,采用上述設置都可以有效降低電磁流量計的結垢能力,例如液體接觸部位采用球面結構時,由于凸起部位主要設置在液體接觸部位的中心位置處,因此在對介質流體進行測量時,流體沿著液體接觸部位表面進行流動,勢必會對凸起部位的底部產生一定的沖擊作用,在這種情況下,污垢不易積累,從而出現較為良好的阻止結垢的效果。在合理采用上述技術方案,同時采取進一步的配置方式后,使得新型電磁流量計具備較好的電極阻垢效果,有效提高了儀器的經濟效益,下文結合新型電磁流量計中的電極阻垢結構實例進行分析。
在本次實例當中,圖4和圖5中的13所表示的凸起部位其外壁為圓滑的曲面,整體的橫截面基本為圓形,在該實例中所采用的進一步配置為凸起部位的外徑由液體接觸部位向遠離液體接觸部位的側逐漸變小,同時在凸起部位上與液體接觸部位遠離的位置為球面。
如圖6所示,測量管道的前端、后端與變徑段相連接,變徑段的內徑由測量管道向通道的兩側開始逐漸變大,測量管道的內徑基本為變徑前內徑的70%。上述3個圖中各序列號所表示的部件名稱:1為電極,2為測量通道,11為接液部,12為安裝部,13為凸起部,14為球面部,21為變徑段。
本次實例的基本原理為,在測量通道前段連接零段此時內部的介質流體在進測量通道后出現流速增大的現象,在介質流體流動到凸起部位時,凸起部位對介質流體之間產生分割作用,同時在液體接觸部位和凸起部位的連接位置會產生一定的擾動作用,所產生的擾動可以將附著在液體接觸部位表面的結垢物帶走,在液體的接觸部位以及凸起部位會避免產生污垢的積聚,由于上圖中的凸起部13和測量通道的中心位置距離較近,該位置處所受到的摩擦力以及黏著力的影響相對較小,整體的流速較快,從而使得凸起部難以被污垢所覆蓋,而上述實例中所進行的優化配置,主要包括凸起部位與液體接觸部位遠離位置為球面,凸起部位的外壁為圓滑曲面,以及外徑從液體接觸部位開始逐漸變小,而變徑端的內徑向遠離測量通道的方向逐漸增大。
3.結論
通過采用上述幾種優化配置方式,可以實現當介質流體從變徑段外側進入測量通道后,由于變徑段向測量通道的方向整體為收口形勢,通道中的內徑明顯小于變徑段外的內徑值,這在一定程度上加快了測量通道中介質流體的流速,從而使得凸起部表面以及測量通道內更難以形成結垢,不需要經常進行清洗。
上一條:
電磁流量計應用故障排除實例
下一條:
淺談渦輪流量計在天然氣流量計量中的應用
創輝自動化儀表
固定電話:0517-86881563
工程師熱線:15312307860
公司郵箱:2509499123@qq.com
公司地址:江蘇省淮安市金湖縣工一路16號
流量儀表系列
電磁流量計
渦街流量計
渦輪流量計
超聲波流量計
孔板流量計
物位儀表系列
磁翻板液位計
超聲波液位計
雷達物位計
浮球液位開關
變送器儀表系列
壓力變送器
差壓變送器
液位變送器
溫度變送器
欄目導航
關于我們
產品博覽
新聞動態
典型案例
行業新聞
聯系我們
版權所有? 江蘇創輝自動化儀表有限公司 2023 All Rights Reserved.
網站備案號:
蘇ICP備2023013008號-2
友情鏈接:
財產保全擔保
客戶服務熱線
15312307860
聯系我們