久久久久激情I久草网免费I天天天综合网Iav东方在线I国产精品二区在线观看Iwww久久99I91精品色I夜又临在线观看

固定電話:

0517-86881563

手機熱線:

153-1230-7860

當前位置:首頁 >> 新聞動態
一種電磁流量計的無襯里測量頭的技術
技術領域
本發明涉及測量儀器技術,特別是涉及一種電磁流量計的無襯里測量頭的技術。
 
背景技術
電磁流量計是一種流量儀表,使用時將其測量頭與待測管道連接,即可測量該被測介質的流量。現有電磁流量計的測量頭主要由一個導電的導流管、兩個測量電極和兩個勵磁線圈組成,兩個測量電極和兩個勵磁線圈沿導流管周向軸對稱交替布設在導流管管壁上,在導流管管壁上開設有兩個測量孔,兩個測量電極通過兩個測量孔接觸被測介質,測量電極與測量孔孔壁之間均密封,以防被測介質從測量孔流出,導流管的內壁粘貼有一層橡膠絕緣襯里將被測介質與導流管管壁隔開。現有電磁流量計的測量頭在流量測量過程中,如果出現負壓以及熱沖擊造成的溫度劇烈變化,絕緣襯里很容易與導流管內壁脫離、剝落、拉破等,從而導致測量電極密封泄漏,會使流量信號被短路而導致儀表失效,其測量可靠性較差。另外,由于導流管為導電管體,因此在流量測量過程中存在除測量電極之外的法向電流,會對流量信號造成干擾,影響測量精度。
 
發明內容
針對上述現有技術中存在的缺陷,本發明所要解決的技術問題是提供一種測量可靠性及測量精度高的電磁流量計的無襯里測量頭。
為了解決上述技術問題,本發明所提供的一種電磁流量計的無襯里測量頭,包括導流管、測量電極和勵磁線圈,所述測量電極和勵磁線圈各有兩個,沿導流管的周向軸對稱交替固定在導流管管壁上
所述導流管上固定有一全封閉的密封罩,其兩端各設有一電磁配對法蘭,其管壁上設有兩個貫通其管壁的測量孔,每個測量孔對應一個測量電極,每個測量電極的一端插入其對應測量孔中,每個測量電極的外周面與對應測量孔的孔壁之間均用絕緣隔套隔離并密封,各測量電極及各勵磁線圈均罩設在密封罩內,并各經導線引出密封罩,其特征在于:所述導流管是一塑膠絕緣管體。
進一步的,所述導流管的外周面貼覆有一層金屬屏蔽層
進一步的,貼覆于導流管外周面的金屬屏蔽層是不銹鋼屏蔽層,其厚度為0.2土0.02m。
進一步的,所述導流管由耐熱性大于等于130℃的熱塑性材料制成,所述熱塑性材料的材料成分為70%的尼龍和30%的玻璃纖維。
本發明提供的電磁流量計的無襯里測量頭,由于導流管采用了塑膠絕緣管體,其自身具有絕緣性能,不需要再在其內壁另行粘附絕緣襯里,在流量測量過程中即便出現負壓以及熱沖擊造成的溫度劇烈變化,也不會發生流量信號被短路現象,其測量可靠性較高,而且在流量測量過程中除測量電極之外不存在法向電流,不會干擾流量信號,能提高測量精度。
 
附圖說明
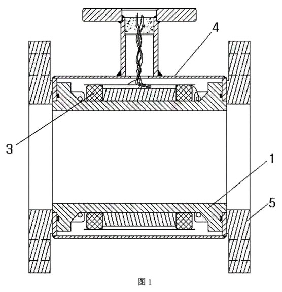
圖1是本發明實施例的電磁流量計的無襯里測量頭的主視剖切圖
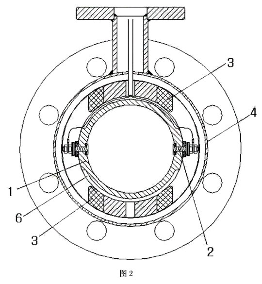
圖2是本發明實施例的電磁流量計的無襯里測量頭的側視剖切圖。

具體實施方式
以下結合附圖說明對本發明的實施例作進一步詳細描述,但本實施例并不用于限制本發明,凡是采用本發明的相似結構及其相似變化,均應列入本發明的保護范圍。如圖1-圖2所示,本發明實施例所提供的一種電磁流量計的無樹里測量頭,包括導流管1、測量電極2和勵磁線圏3,所述測量電極2和勵磁線圈3各有兩個,沿導流管1的周向軸對稱交替固定在導流管管壁上;
所述導流管1上固定有一全封閉的密封罩4,其兩端各設有一電磁配對法蘭5,其管壁上設有兩個貫通其管壁的測量孔,每個測量孔對應一個測量電極2,每個測量電極2的一端插入其對應測量孔中,每個測量電極2的外周面與對應測量孔的孔壁之間均用絕緣隔套隔離并密封,各測量電極2及各勵磁線圈3均罩設在密封罩4內,并各經導線引出密封罩4;其特征在于:所述導流管1是一塑膠絕緣管體。
本發明實施例中,所述導流管1的外周面還貼覆有一層金屬屏蔽層6
本發明實施例中,貼覆于導流管1外周面的金屬屏蔽層6是不銹鋼屏蔽層,其厚度為0.2±0.02mm,實際應用時也可以采用其它金屬材料的屏蔽層。
本發明實施例中,所述導流管1由耐熱性大于等于130℃的熱塑性材料制成,所述熱塑性材料的材料成分為70%的尼龍和30%的玻璃纖維。
本發明實施例測量被測介質流量時,通過導流管兩端的電磁配對法蘭將導流管接至被測管體,即可進行正常的流量測量在測量過程中除測量電極之外不存在法向電流,導流管外周面包覆的金屬屏蔽層能進一步屏蔽外部干擾信號,提高測量精度。
 

上一條:用于電磁流量計電極的保護套結構
下一條:電磁流量計的分類、特點及選型


客戶服務熱線
15312307860

聯系我們