久久久久激情I久草网免费I天天天综合网Iav东方在线I国产精品二区在线观看Iwww久久99I91精品色I夜又临在线观看
固定電話:
0517-86881563
手機熱線:
153-5866-7860
首頁
關于我們
產品博覽
新聞動態
典型案例
行業新聞
聯系我們
當前位置:
創輝儀表
>
新聞動態
>
流量儀表系列
電磁流量計
渦街流量計
渦輪流量計
超聲波流量計
孔板流量計
轉子流量計
質量流量計
旋進旋渦流量計
巴類流量計
液體流量計
油流量計
酸流量計
氣體流量計
其它流量計
物位儀表系列
磁翻板液位計
超聲波液位計
雷達物位計
浮球液位開關
變送器儀表系列
壓力變送器
差壓變送器
液位變送器
溫度變送器
校準電磁流量計測量數據準確的兩種方法
2021-09-24
校準 電磁流量計 測量數據準確的兩種方法介紹 就結合對于流量儀表中電磁流量計在實際使用中會出現測量數據不準確。為了使電磁流量計在測量中怎么樣才能準確的校準測量值。如果電磁流量計往往沒有一個準確測量出流體的流量值會給生產和...
基于故障數據的電磁流量計壽命分布規律
2021-09-24
1、引言 電磁流量計 作為一種主要的測量導電液體的流量儀表,廣泛地應用于治金、化工、造紙、環保石油等領域。國產 電磁流量計 的可靠性水平與國際先進水平相比仍有差距。但目前,國內研究單位對電磁流量計可靠性方面的研究非常少見。研...
如何在智能電磁流量計中設計應用HART協議
2021-09-23
一、前言 符合HART協議的 智能電磁流量計 不僅可以實現各種流量的檢測和就地顯示,還可以通過上位計進行遠程設定,改變流量計的零點量程,以及完成自診斷等功能,因此在流量計的使用和維護中更加方便。 二、HART協議簡介 HART協議遵循ISO制訂的...
電磁流量計傳感器的日常檢查
2021-09-22
電磁流量計 的日常檢查幾點 1.檢査勵磁線圈絕緣電阻。 勵磁線圈及其接線端子受潮后勵磁回路對地絕緣下降,會引入共模干擾信號,使轉換器零點漂移,影響測量精確度。在實踐中,由于疏忽大意,接線盒未密封好,如電纜線引入端末安裝密封墊圈,引入...
電磁流量計不能測量氣體的原因解答
2021-09-22
電磁流量計不能測量氣體的原因解答 電磁流量計 是一種體積流量測量儀表,在測量過程中,它不受被測介質的溫度、粘度、密度以電導率(在一定范圍)的影響。因此,電磁流量計只需經水標定后,就可心用來測量其它導電性液體的流量。電磁流量計的...
電磁流量計對大口徑管路流量的測量
2021-09-18
一、大口徑管路液體流量測量的特點 1.管路口徑大要求壓損越小越好。一般不允許用局部縮徑的方法提高流速。 2.流速一般都很高。新設計安裝的管路,一般均選擇經濟流速。因為流速太低,勢必增加管路的投資,流速太高,會造成動力損耗大幅度增...
淺談電磁流量計的精度等級與功能
2021-09-18
電磁流量計的精度等級與功能 多功能儀表有測雙向流、量程切換、上下限流量報警、空管和電源切斷報警、小信號切除、流量顯示和總量計算、自動核對和故障自診斷、與上位機通信和運動組態等。市場上電磁流量計的功能差別也很大,簡單的就...
電磁流量計的精度提升及抗干擾技術
2021-09-18
隨著我國科學技術和經濟的不斷發展與進步,電磁流量計在我國的工業、技術檢測和管理等很多領域得到了廣泛的使用,電磁流量計具有良好的耐腐蝕性,并具備可靠性高、適應性強的特點。近年來,各個領域在不斷探索新技術的同時,對電磁流量計的...
電磁流量計零點偏移實例的解析
2021-09-17
一、前言 電磁流量計 廣泛地用于城市供水、水處理過程中水的測量和計量。然而,這些行業的輸水管道往往都埋于地下。這樣,電磁流量傳感器也多安裝在地下,或安裝于地下的測量井中。不難想象,長期浸泡在水中,或者由于測量井的封閉,...
電磁流量計的前期安裝、維護和接地
2021-09-15
電磁流量計的前期安裝、維護和接地 (1) 電磁流量計 的現場安裝必須嚴格按使用說明進行,應用電磁流量計測量液體的電導率應大于10-5S/cm。首先傳感器的安裝位置必須保證被測液體完全充滿測量管,有必要時進行定期清洗,如果電極被沉積層...
怎樣清洗電磁流量計的電極
2021-09-13
怎樣清洗電磁流量計的電極? 采用減少覆蓋層的彈頭形電極、超聲波清洗方法和電容信號檢測器可把這種影響減至zui如果導電液體中的絕緣物質有可能沉積到電極上或測量管壁上,可采取機械的、電的或化學的清洗措施清洗,流量計可在與工藝管道...
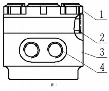
一種電磁流量計傳感器接線盒結構特點
2021-09-10
技術領域 本實用新型涉及一種電磁流量計傳感器接線盒,尤其涉及一種分體式 電磁流量計 傳感器接線盒,屬于測量設備技術領域。 背景技術 現有的分體式電磁流量計傳感器接線盒大多采用頂端進線,接線時需要將接線盒整體拆下才可以接線,使用過...
電磁流量計對供水企業的作用
2021-09-09
電磁流量計 對供水企業的作用 (1)作為結算水表使用。結算水表是供水企業經濟收入的重要結算工具。流量計的管理程序為:購買電磁流量計(成本計入安裝成本),標定的質量報告書統一存檔備案,安裝(2把鎖管理:1把用戶,1把水司),設置系數上報統一存...
如何有效延長電磁流量計的使用壽命
2021-09-08
電磁流量計 分為現場顯示型和遠傳顯示型,是專門用來測量導電液體介質的,如:酸堿鹽等強腐蝕性和紙漿、泥漿、廢水、污水等體積流量計。電磁流量計出廠都是經過嚴格的質檢的,可以保證質量,但是誰不想一個儀表可以使用更長的時間的,發揮出...
淺談金屬轉子流量計的原理及應用特點
2021-09-07
一、 金屬轉子流量計 的工作原理 金屬管轉子流量計浮子在測量管中,隨著流量的變化,將浮子向上移動,在某一位置浮子所受的浮力與浮子重力達到平衡。此時浮子與孔板(或錐管)間的流通環隙面積保持一定環隙面積與浮子的上升高度成正比,即浮子...
首頁
上一頁
1
2
3
4
5
6
7
下一頁
末頁
1
2
3
4
5
6
7
8
9
10
11
12
13
14
15
16
17
18
19
20
21
22
23
24
25
26
27
28
29
30
31
32
33
34
35
36
37
38
39
40
41
42
43
44
45
46
47
48
49
50
51
52
創輝自動化儀表
固定電話:0517-86881563
工程師熱線:15358667860
公司郵箱:2509499123@qq.com
公司地址:江蘇省淮安市金湖縣工一路16號
流量儀表系列
電磁流量計
渦街流量計
渦輪流量計
超聲波流量計
孔板流量計
物位儀表系列
磁翻板液位計
超聲波液位計
雷達物位計
浮球液位開關
變送器儀表系列
壓力變送器
差壓變送器
液位變送器
溫度變送器
欄目導航
關于我們
產品博覽
新聞動態
典型案例
行業新聞
聯系我們
版權所有? 江蘇創輝自動化儀表有限公司 2019 All Rights Reserved.
客戶服務熱線
15358667860
聯系我們